Greenville, TX
|
Give Us a Call
(903) 454-4440
Toggle navigation
Home
Brands
Manufacturer Models
OEM Promotions
Polaris
Can-Am
E-Z-Go
Honda
Kawasaki
Suzuki
Inventory
All Inventory In Stock
New Inventory In Stock
Used Inventory
Value Your Trade-In
Request a Model
Schedule a Test Ride
Secure Financing
Parts
Parts Department
Parts Finder
Service
Service Department
Request Polaris Service
Warranty & Recall Look-Up
Specials
Financing
About
Our Dealership
Our Team
Reviews
Customer Survey
Employment
Events Calendar
Locations
Location & Hours
Contact
Parts Finder
Home
›
Parts
›
Parts Finder
Search by :
Part / Desc
VIN
Please Select
Arctic Cat
Honda
Kawasaki
Polaris
Suzuki
*Please enter at least 3 characters
SEARCH
Manufacturer
Arctic Cat
ATVs
2013
TBX 700 T3S METALLIC GREEN [A2013BCT1PSTN]
VIEW WISH LIST
Select a Section
Show/Hide
AIR INTAKE ASSEMBLY [91973]
BATTERY AND STARTER ASSEMBLY [97597]
CAM CHAIN ASSEMBLY [89422]
CARGO BOX AND TAILGATE ASSEMBLY [95092]
CASE/BELT COOLING ASSEMBLY [91976]
CLUTCH/V-BELT/MAGNETO COVER ASSEMBLY [96563]
COOLING ASSEMBLY [94428]
CRANK BALANCER ASSEMBLY [94435]
CRANKCASE ASSEMBLY [99823]
CRANKSHAFT AND PISTON ASSEMBLY [300125]
CYLINDER ASSEMBLY [99736]
CYLINDER HEAD AND CAMSHAFT/VALVE ASSEMBLY [94433]
DRIVE TRAIN ASSEMBLY [94652]
ENGINE AND EXHAUST [95097]
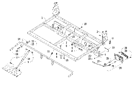
FRAME AND RELATED PARTS [97592]
FRONT DRIVE GEARCASE ASSEMBLY [94430]
FRONT RACK, BODY PANEL, AND HEADLIGHT ASSEMBLIES [97589]
FRONT SUSPENSION ASSEMBLY [98341]
GAS TANK ASSEMBLY [95096]
GEAR SHIFTING ASSEMBLY [300095]
HANDLEBAR ASSEMBLY [96481]
HYDRAULIC BRAKE ASSEMBLY [300076]
INSTRUMENT POD ASSEMBLY [97594]
LICENSE PLATE HOLDER ASSEMBLY [97593]
MAGNETO ASSEMBLY [96564]
OIL FILTER/PUMP ASSEMBLY [99739]
PARKING BRAKE ASSEMBLY [95941]
REAR DRIVE GEARCASE ASSEMBLY [94431]
REAR SUSPENSION ASSEMBLY [96483]
SEAT ASSEMBLY [100274]
SECONDARY DRIVE ASSEMBLY [96954]
SECONDARY TRANSMISSION ASSEMBLY [94136]
SHIFT LEVER ASSEMBLY [96951]
STARTER CLUTCH ASSEMBLY [300126]
STEERING ASSEMBLY [99906]
STORAGE BOX ASSEMBLY [100228]
THROTTLE BODY ASSEMBLY [89419]
TILT FRAME ASSEMBLY [97590]
TRANSMISSION ASSEMBLY [94436]
WATER PUMP ASSEMBLY [90695]
WHEEL AND TIRE ASSEMBLY [96948]
WINCH ASSEMBLY [96479]
WIRING HARNESS ASSEMBLY [97596]
AIR INTAKE ASSEMBLY [91973]
BATTERY AND STARTER ASSEMBLY [97597]
CAM CHAIN ASSEMBLY [89422]
CARGO BOX AND TAILGATE ASSEMBLY [95092]
CASE/BELT COOLING ASSEMBLY [91976]
CLUTCH/V-BELT/MAGNETO COVER ASSEMBLY [96563]
COOLING ASSEMBLY [94428]
CRANK BALANCER ASSEMBLY [94435]
CRANKCASE ASSEMBLY [99823]
CRANKSHAFT AND PISTON ASSEMBLY [300125]
CYLINDER ASSEMBLY [99736]
CYLINDER HEAD AND CAMSHAFT/VALVE ASSEMBLY [94433]
DRIVE TRAIN ASSEMBLY [94652]
ENGINE AND EXHAUST [95097]
FRAME AND RELATED PARTS [97592]
FRONT DRIVE GEARCASE ASSEMBLY [94430]
FRONT RACK, BODY PANEL, AND HEADLIGHT ASSEMBLIES [97589]
FRONT SUSPENSION ASSEMBLY [98341]
GAS TANK ASSEMBLY [95096]
GEAR SHIFTING ASSEMBLY [300095]
HANDLEBAR ASSEMBLY [96481]
HYDRAULIC BRAKE ASSEMBLY [300076]
INSTRUMENT POD ASSEMBLY [97594]
LICENSE PLATE HOLDER ASSEMBLY [97593]
MAGNETO ASSEMBLY [96564]
OIL FILTER/PUMP ASSEMBLY [99739]
PARKING BRAKE ASSEMBLY [95941]
REAR DRIVE GEARCASE ASSEMBLY [94431]
REAR SUSPENSION ASSEMBLY [96483]
SEAT ASSEMBLY [100274]
SECONDARY DRIVE ASSEMBLY [96954]
SECONDARY TRANSMISSION ASSEMBLY [94136]
SHIFT LEVER ASSEMBLY [96951]
STARTER CLUTCH ASSEMBLY [300126]
STEERING ASSEMBLY [99906]
STORAGE BOX ASSEMBLY [100228]
THROTTLE BODY ASSEMBLY [89419]
TILT FRAME ASSEMBLY [97590]
TRANSMISSION ASSEMBLY [94436]
WATER PUMP ASSEMBLY [90695]
WHEEL AND TIRE ASSEMBLY [96948]
WINCH ASSEMBLY [96479]
WIRING HARNESS ASSEMBLY [97596]
VIEW WISH LIST