Greenville, TX
|
Give Us a Call
(903) 454-4440
Toggle navigation
Home
Brands
Manufacturer Models
OEM Promotions
Polaris
Can-Am
E-Z-Go
Honda
Kawasaki
Suzuki
Inventory
All Inventory In Stock
New Inventory In Stock
Used Inventory
Value Your Trade-In
Request a Model
Schedule a Test Ride
Secure Financing
Parts
Parts Department
Parts Finder
Service
Service Department
Request Polaris Service
Warranty & Recall Look-Up
Specials
Financing
About
Our Dealership
Our Team
Reviews
Customer Survey
Employment
Events Calendar
Locations
Location & Hours
Contact
Parts Finder
Home
›
Parts
›
Parts Finder
Search by :
Part / Desc
VIN
Please Select
Arctic Cat
Honda
Kawasaki
Polaris
Suzuki
*Please enter at least 3 characters
SEARCH
Manufacturer
Arctic Cat
ATVs
2012
ATV 650 INTERNATIONAL RED [A2012ICS4BOSR]
VIEW WISH LIST
Select a Section
Show/Hide
AIR INTAKE ASSEMBLY [92115]
BATTERY AND STARTER ASSEMBLY [93399]
CAM CHAIN ASSEMBLY [89422]
CARBURETOR [94532]
CASE/BELT COOLING ASSEMBLY [92117]
CLUTCH/V-BELT/MAGNETO COVER ASSEMBLY [94403]
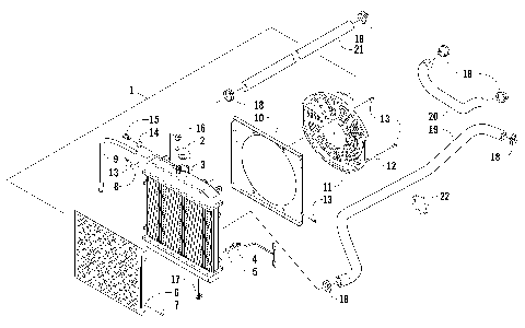
COOLING ASSEMBLY [94530]
CRANK BALANCER ASSEMBLY [94435]
CRANKCASE ASSEMBLY [99823]
CRANKSHAFT AND PISTON ASSEMBLY [94534]
CYLINDER ASSEMBLY [90801]
CYLINDER HEAD AND CAMSHAFT/VALVE ASSEMBLY [94533]
DRIVE TRAIN ASSEMBLY [94482]
ENGINE AND EXHAUST [93916]
FRAME AND RELATED PARTS [94526]
FRONT DRIVE GEARCASE ASSEMBLY [94483]
FRONT RACK, BODY PANEL, AND HEADLIGHT ASSEMBLIES [94524]
FRONT SUSPENSION ASSEMBLY [98341]
GAS TANK ASSEMBLY [94529]
GEAR SHIFTING ASSEMBLY [300095]
HANDLEBAR ASSEMBLY [91965]
HYDRAULIC BRAKE ASSEMBLY [94528]
INSTRUMENT POD ASSEMBLY [94527]
OIL FILTER/PUMP ASSEMBLY [99739]
REAR DRIVE GEARCASE ASSEMBLY [94484]
REAR RACK, BODY PANEL, AND FOOTWELL ASSEMBLIES [94525]
REAR SUSPENSION ASSEMBLY [99975]
SEAT ASSEMBLY [100274]
SECONDARY DRIVE ASSEMBLY [94438]
SECONDARY TRANSMISSION ASSEMBLY [94136]
SHIFT LEVER ASSEMBLY [97172]
STARTER CLUTCH ASSEMBLY [300126]
STEERING ASSEMBLY [99924]
TAILLIGHT ASSEMBLY [88992]
TRANSMISSION ASSEMBLY [94436]
WATER PUMP ASSEMBLY [90695]
WHEEL AND TIRE ASSEMBLY [94507]
WIRING HARNESS ASSEMBLY [93918]
AIR INTAKE ASSEMBLY [92115]
BATTERY AND STARTER ASSEMBLY [93399]
CAM CHAIN ASSEMBLY [89422]
CARBURETOR [94532]
CASE/BELT COOLING ASSEMBLY [92117]
CLUTCH/V-BELT/MAGNETO COVER ASSEMBLY [94403]
COOLING ASSEMBLY [94530]
CRANK BALANCER ASSEMBLY [94435]
CRANKCASE ASSEMBLY [99823]
CRANKSHAFT AND PISTON ASSEMBLY [94534]
CYLINDER ASSEMBLY [90801]
CYLINDER HEAD AND CAMSHAFT/VALVE ASSEMBLY [94533]
DRIVE TRAIN ASSEMBLY [94482]
ENGINE AND EXHAUST [93916]
FRAME AND RELATED PARTS [94526]
FRONT DRIVE GEARCASE ASSEMBLY [94483]
FRONT RACK, BODY PANEL, AND HEADLIGHT ASSEMBLIES [94524]
FRONT SUSPENSION ASSEMBLY [98341]
GAS TANK ASSEMBLY [94529]
GEAR SHIFTING ASSEMBLY [300095]
HANDLEBAR ASSEMBLY [91965]
HYDRAULIC BRAKE ASSEMBLY [94528]
INSTRUMENT POD ASSEMBLY [94527]
OIL FILTER/PUMP ASSEMBLY [99739]
REAR DRIVE GEARCASE ASSEMBLY [94484]
REAR RACK, BODY PANEL, AND FOOTWELL ASSEMBLIES [94525]
REAR SUSPENSION ASSEMBLY [99975]
SEAT ASSEMBLY [100274]
SECONDARY DRIVE ASSEMBLY [94438]
SECONDARY TRANSMISSION ASSEMBLY [94136]
SHIFT LEVER ASSEMBLY [97172]
STARTER CLUTCH ASSEMBLY [300126]
STEERING ASSEMBLY [99924]
TAILLIGHT ASSEMBLY [88992]
TRANSMISSION ASSEMBLY [94436]
WATER PUMP ASSEMBLY [90695]
WHEEL AND TIRE ASSEMBLY [94507]
WIRING HARNESS ASSEMBLY [93918]
VIEW WISH LIST