Greenville, TX
|
Give Us a Call
(903) 454-4440
Toggle navigation
Home
Brands
Manufacturer Models
OEM Promotions
Polaris
Can-Am
E-Z-Go
Honda
Kawasaki
Suzuki
Inventory
All Inventory In Stock
New Inventory In Stock
Used Inventory
Value Your Trade-In
Request a Model
Schedule a Test Ride
Secure Financing
Parts
Parts Department
Parts Finder
Service
Service Department
Request Polaris Service
Warranty & Recall Look-Up
Specials
Financing
About
Our Dealership
Our Team
Reviews
Customer Survey
Employment
Events Calendar
Locations
Location & Hours
Contact
Parts Finder
Home
›
Parts
›
Parts Finder
Search by :
Part / Desc
VIN
Please Select
Arctic Cat
Honda
Kawasaki
Polaris
Suzuki
*Please enter at least 3 characters
SEARCH
Manufacturer
Arctic Cat
ATVs
2011
TRV 700s H1 EFI METALLIC CAT GREEN [A2011TBT1PUSA]
VIEW WISH LIST
Select a Section
Show/Hide
AIR INTAKE ASSEMBLY [91973]
BATTERY AND STARTER ASSEMBLY [96952]
CAM CHAIN ASSEMBLY [89422]
CASE/BELT COOLING ASSEMBLY [91976]
CLUTCH/V-BELT/MAGNETO COVER ASSEMBLY [94403]
COOLING ASSEMBLY [93442]
CRANK BALANCER ASSEMBLY [94435]
CRANKCASE ASSEMBLY [92675]
CRANKSHAFT AND PISTON ASSEMBLY [300125]
CYLINDER ASSEMBLY [99736]
CYLINDER HEAD AND CAMSHAFT/VALVE ASSEMBLY (ENGINE SERIAL NO. 0309070 AND UP) [93197]
CYLINDER HEAD AND CAMSHAFT/VALVE ASSEMBLY (UP TO ENGINE SERIAL NO. 0309069) [93196]
DRIVE TRAIN ASSEMBLY [92039]
ENGINE AND EXHAUST [92038]
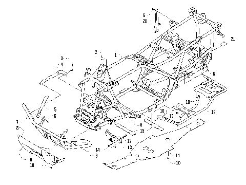
FRAME AND RELATED PARTS [93378]
FRONT DRIVE GEARCASE ASSEMBLY [93886]
FRONT RACK, BODY PANEL, AND HEADLIGHT ASSEMBLIES [93219]
FRONT SUSPENSION ASSEMBLY [93108]
GAS TANK ASSEMBLY [300841]
GEAR SHIFTING ASSEMBLY [300863]
HANDLEBAR ASSEMBLY [91965]
HYDRAULIC BRAKE ASSEMBLY [94650]
INSTRUMENT POD ASSEMBLY [93223]
MAGNETO ASSEMBLY [91019]
OIL FILTER/PUMP ASSEMBLY [99739]
PASSENGER SEAT AND BACKREST ASSEMBLY [92658]
REAR BODY PANEL AND FOOTWELL ASSEMBLIES [93220]
REAR DRIVE GEARCASE ASSEMBLY [90857]
REAR RACK ASSEMBLY [93221]
REAR SUSPENSION ASSEMBLY [93224]
SEAT ASSEMBLY [100274]
SECONDARY DRIVE ASSEMBLY [93921]
SECONDARY TRANSMISSION ASSEMBLY (ENGINE SERIAL NO. 0264070 and Up) [300853]
SECONDARY TRANSMISSION ASSEMBLY (Up to ENGINE SERIAL NO. 0264069) [300869]
SHIFT LEVER ASSEMBLY [96951]
STARTER CLUTCH ASSEMBLY [300126]
STEERING ASSEMBLY [99906]
TAILLIGHT ASSEMBLY [88992]
THROTTLE BODY ASSEMBLY [89419]
TRANSMISSION ASSEMBLY [96231]
WATER PUMP ASSEMBLY [90695]
WHEEL AND TIRE ASSEMBLY [92630]
WIRING HARNESS ASSEMBLY [93226]
AIR INTAKE ASSEMBLY [91973]
BATTERY AND STARTER ASSEMBLY [96952]
CAM CHAIN ASSEMBLY [89422]
CASE/BELT COOLING ASSEMBLY [91976]
CLUTCH/V-BELT/MAGNETO COVER ASSEMBLY [94403]
COOLING ASSEMBLY [93442]
CRANK BALANCER ASSEMBLY [94435]
CRANKCASE ASSEMBLY [92675]
CRANKSHAFT AND PISTON ASSEMBLY [300125]
CYLINDER ASSEMBLY [99736]
CYLINDER HEAD AND CAMSHAFT/VALVE ASSEMBLY (ENGINE SERIAL NO. 0309070 AND UP) [93197]
CYLINDER HEAD AND CAMSHAFT/VALVE ASSEMBLY (UP TO ENGINE SERIAL NO. 0309069) [93196]
DRIVE TRAIN ASSEMBLY [92039]
ENGINE AND EXHAUST [92038]
FRAME AND RELATED PARTS [93378]
FRONT DRIVE GEARCASE ASSEMBLY [93886]
FRONT RACK, BODY PANEL, AND HEADLIGHT ASSEMBLIES [93219]
FRONT SUSPENSION ASSEMBLY [93108]
GAS TANK ASSEMBLY [300841]
GEAR SHIFTING ASSEMBLY [300863]
HANDLEBAR ASSEMBLY [91965]
HYDRAULIC BRAKE ASSEMBLY [94650]
INSTRUMENT POD ASSEMBLY [93223]
MAGNETO ASSEMBLY [91019]
OIL FILTER/PUMP ASSEMBLY [99739]
PASSENGER SEAT AND BACKREST ASSEMBLY [92658]
REAR BODY PANEL AND FOOTWELL ASSEMBLIES [93220]
REAR DRIVE GEARCASE ASSEMBLY [90857]
REAR RACK ASSEMBLY [93221]
REAR SUSPENSION ASSEMBLY [93224]
SEAT ASSEMBLY [100274]
SECONDARY DRIVE ASSEMBLY [93921]
SECONDARY TRANSMISSION ASSEMBLY (ENGINE SERIAL NO. 0264070 and Up) [300853]
SECONDARY TRANSMISSION ASSEMBLY (Up to ENGINE SERIAL NO. 0264069) [300869]
SHIFT LEVER ASSEMBLY [96951]
STARTER CLUTCH ASSEMBLY [300126]
STEERING ASSEMBLY [99906]
TAILLIGHT ASSEMBLY [88992]
THROTTLE BODY ASSEMBLY [89419]
TRANSMISSION ASSEMBLY [96231]
WATER PUMP ASSEMBLY [90695]
WHEEL AND TIRE ASSEMBLY [92630]
WIRING HARNESS ASSEMBLY [93226]
VIEW WISH LIST