Greenville, TX
|
Give Us a Call
(903) 454-4440
Toggle navigation
Home
Brands
Manufacturer Models
OEM Promotions
Polaris
Can-Am
E-Z-Go
Honda
Kawasaki
Suzuki
Inventory
All Inventory In Stock
New Inventory In Stock
Used Inventory
Value Your Trade-In
Request a Model
Schedule a Test Ride
Secure Financing
Parts
Parts Department
Parts Finder
Service
Service Department
Request Polaris Service
Warranty & Recall Look-Up
Specials
Financing
About
Our Dealership
Our Team
Reviews
Customer Survey
Employment
Events Calendar
Locations
Location & Hours
Contact
Parts Finder
Home
›
Parts
›
Parts Finder
Search by :
Part / Desc
VIN
Please Select
Arctic Cat
Honda
Kawasaki
Polaris
Suzuki
*Please enter at least 3 characters
SEARCH
Manufacturer
Arctic Cat
ATVs
2011
TRV 400 RED [A2011TBG4BUSR]
VIEW WISH LIST
Select a Section
Show/Hide
AIR INTAKE ASSEMBLY [92394]
BATTERY ASSEMBLY [98065]
CAM CHAIN ASSEMBLY [90862]
CARBURETOR [92401]
CASE/BELT COOLING ASSEMBLY [92396]
CLUTCH/V-BELT/MAGNETO COVER ASSEMBLY [98491]
COOLING ASSEMBLY [90853]
CRANK BALANCER ASSEMBLY [90867]
CRANKCASE ASSEMBLY [100396]
CRANKSHAFT AND PISTON ASSEMBLY [90864]
CYLINDER ASSEMBLY [92885]
CYLINDER HEAD AND CAMSHAFT/VALVE ASSEMBLY [100731]
DRIVE TRAIN ASSEMBLY [94102]
ENGINE AND EXHAUST [94088]
FRAME AND RELATED PARTS [94084]
FRONT DRIVE GEARCASE ASSEMBLY [93900]
FRONT RACK, BODY PANEL, AND HEADLIGHT ASSEMBLIES [94082]
FRONT SUSPENSION ASSEMBLY [93108]
GAS TANK ASSEMBLY [94086]
GEAR SHIFTING ASSEMBLY [94091]
HANDLEBAR ASSEMBLY [91965]
HYDRAULIC BRAKE ASSEMBLY [94650]
INSTRUMENT POD ASSEMBLY [94085]
MAGNETO ASSEMBLY [92408]
OIL PUMP AND STRAINER ASSEMBLY [92405]
PASSENGER SEAT AND BACKREST ASSEMBLY [92658]
REAR BODY PANEL AND FOOTWELL ASSEMBLIES [94083]
REAR DRIVE GEARCASE ASSEMBLY [90857]
REAR RACK ASSEMBLY [93221]
REAR SUSPENSION ASSEMBLY [93224]
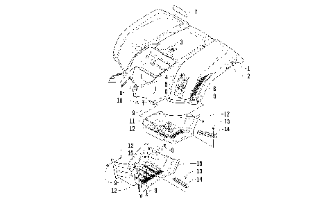
SEAT ASSEMBLY [100274]
SECONDARY DRIVE ASSEMBLY [94092]
SECONDARY TRANSMISSION ASSEMBLY [92890]
SHIFT LEVER ASSEMBLY [98061]
STARTER CLUTCH ASSEMBLY [92888]
STARTER MOTOR ASSEMBLY [92407]
STEERING ASSEMBLY (UP TO VIN: 250000) [93131]
STEERING ASSEMBLY (VIN: 250001 and Up) [300824]
TAILLIGHT ASSEMBLY [88992]
TRANSMISSION ASSEMBLY [94090]
WHEEL AND TIRE ASSEMBLY [92640]
WIRING HARNESS ASSEMBLY [92399]
AIR INTAKE ASSEMBLY [92394]
BATTERY ASSEMBLY [98065]
CAM CHAIN ASSEMBLY [90862]
CARBURETOR [92401]
CASE/BELT COOLING ASSEMBLY [92396]
CLUTCH/V-BELT/MAGNETO COVER ASSEMBLY [98491]
COOLING ASSEMBLY [90853]
CRANK BALANCER ASSEMBLY [90867]
CRANKCASE ASSEMBLY [100396]
CRANKSHAFT AND PISTON ASSEMBLY [90864]
CYLINDER ASSEMBLY [92885]
CYLINDER HEAD AND CAMSHAFT/VALVE ASSEMBLY [100731]
DRIVE TRAIN ASSEMBLY [94102]
ENGINE AND EXHAUST [94088]
FRAME AND RELATED PARTS [94084]
FRONT DRIVE GEARCASE ASSEMBLY [93900]
FRONT RACK, BODY PANEL, AND HEADLIGHT ASSEMBLIES [94082]
FRONT SUSPENSION ASSEMBLY [93108]
GAS TANK ASSEMBLY [94086]
GEAR SHIFTING ASSEMBLY [94091]
HANDLEBAR ASSEMBLY [91965]
HYDRAULIC BRAKE ASSEMBLY [94650]
INSTRUMENT POD ASSEMBLY [94085]
MAGNETO ASSEMBLY [92408]
OIL PUMP AND STRAINER ASSEMBLY [92405]
PASSENGER SEAT AND BACKREST ASSEMBLY [92658]
REAR BODY PANEL AND FOOTWELL ASSEMBLIES [94083]
REAR DRIVE GEARCASE ASSEMBLY [90857]
REAR RACK ASSEMBLY [93221]
REAR SUSPENSION ASSEMBLY [93224]
SEAT ASSEMBLY [100274]
SECONDARY DRIVE ASSEMBLY [94092]
SECONDARY TRANSMISSION ASSEMBLY [92890]
SHIFT LEVER ASSEMBLY [98061]
STARTER CLUTCH ASSEMBLY [92888]
STARTER MOTOR ASSEMBLY [92407]
STEERING ASSEMBLY (UP TO VIN: 250000) [93131]
STEERING ASSEMBLY (VIN: 250001 and Up) [300824]
TAILLIGHT ASSEMBLY [88992]
TRANSMISSION ASSEMBLY [94090]
WHEEL AND TIRE ASSEMBLY [92640]
WIRING HARNESS ASSEMBLY [92399]
VIEW WISH LIST