Greenville, TX
|
Give Us a Call
(903) 454-4440
Toggle navigation
Home
Brands
Manufacturer Models
OEM Promotions
Polaris
Can-Am
E-Z-Go
Honda
Kawasaki
Suzuki
Inventory
All Inventory In Stock
New Inventory In Stock
Used Inventory
Value Your Trade-In
Request a Model
Schedule a Test Ride
Secure Financing
Parts
Parts Department
Parts Finder
Service
Service Department
Request Polaris Service
Warranty & Recall Look-Up
Specials
Financing
About
Our Dealership
Our Team
Reviews
Customer Survey
Employment
Events Calendar
Locations
Location & Hours
Contact
Parts Finder
Home
›
Parts
›
Parts Finder
Search by :
Part / Desc
VIN
Please Select
Arctic Cat
Honda
Kawasaki
Polaris
Suzuki
*Please enter at least 3 characters
SEARCH
Manufacturer
Arctic Cat
ATVs
2011
ATV 700 DIESEL GREEN [A2011TBT4DUSG]
VIEW WISH LIST
Select a Section
Show/Hide
AIR INTAKE ASSEMBLY [92833]
BATTERY ASSEMBLY [92840]
BOTTOM END GASKET SET ASSEMBLY [94184]
CASE/BELT COOLING ASSEMBLY [92836]
CLUTCH ASSEMBLIES [94177]
COOLING ASSEMBLY [94175]
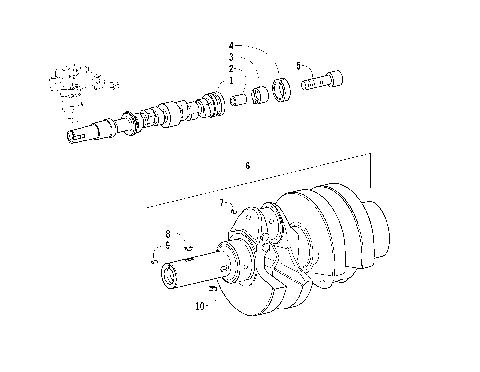
CRANKCASE, CRANKSHAFT SUPPORT, AND OIL FILTER ASSEMBLIES [94180]
CRANKSHAFT AND CAMSHAFT ASSEMBLIES [92847]
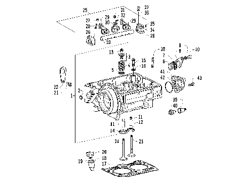
CYLINDER HEAD, VALVE TRAIN, AND RELATED ASSEMBLY [94179]
DRIVE TRAIN ASSEMBLY [92837]
ENGINE AND EXHAUST [94174]
EXHAUST MANIFOLD ASSEMBLY [92855]
EXTERNAL ALTERNATOR AND DRIVE PULLEY ASSEMBLIES [96015]
FLYWHEEL AND CROWN GEAR ASSEMBLY [92856]
FRAME AND RELATED PARTS [94168]
FRONT DRIVE GEARCASE ASSEMBLY [93904]
FRONT RACK, BODY PANEL, AND HEADLIGHT ASSEMBLIES [94166]
FRONT SUSPENSION ASSEMBLY [94170]
FUEL SYSTEM INJECTION PUMP ASSEMBLY [92849]
FUEL TANK AND FUEL FILTER ASSEMBLIES [94172]
HANDLEBAR ASSEMBLY [92826]
HYDRAULIC BRAKE ASSEMBLY [95030]
INSTRUMENT POD ASSEMBLY [94169]
INTAKE MANIFOLD AND THROTTLE CONTROL ASSEMBLY [94181]
OIL PUMP AND PAN ASSEMBLY [94182]
PISTON SET AND CONNECTING ROD ASSEMBLY [92848]
REAR BODY PANEL AND FOOTWELL ASSEMBLIES [94167]
REAR DRIVE GEARCASE ASSEMBLY [90798]
REAR RACK ASSEMBLY [92823]
REAR SUSPENSION ASSEMBLY [94171]
ROCKER ARM COVER AND BREATHER SYSTEM ASSEMBLIES [92844]
SEAT ASSEMBLY [100274]
SHIFT LEVER ASSEMBLY [94173]
STARTER MOTOR ASSEMBLY [92857]
STEERING ASSEMBLY (UP TO VIN: 250000) [93131]
STEERING ASSEMBLY (VIN: 250001 and Up) [300824]
TAILLIGHT ASSEMBLY [88992]
THROTTLE CONTROL AND LOCKED TORQUE DEVICE ASSEMBLIES [92851]
TIMING BELT AND SPEED GOVERNOR ASSEMBLIES [100332]
TOP END GASKET SET ASSEMBLY [92859]
TRANSMISSION LEFT-SIDE ASSEMBLY [92843]
TRANSMISSION RIGHT-SIDE ASSEMBLY [94178]
WATER PUMP AND THERMOSTAT HOUSING ASSEMBLY [94183]
WHEEL AND TIRE ASSEMBLY [92640]
WINCH ASSEMBLY [92825]
WIRING HARNESS ASSEMBLY [94176]
AIR INTAKE ASSEMBLY [92833]
BATTERY ASSEMBLY [92840]
BOTTOM END GASKET SET ASSEMBLY [94184]
CASE/BELT COOLING ASSEMBLY [92836]
CLUTCH ASSEMBLIES [94177]
COOLING ASSEMBLY [94175]
CRANKCASE, CRANKSHAFT SUPPORT, AND OIL FILTER ASSEMBLIES [94180]
CRANKSHAFT AND CAMSHAFT ASSEMBLIES [92847]
CYLINDER HEAD, VALVE TRAIN, AND RELATED ASSEMBLY [94179]
DRIVE TRAIN ASSEMBLY [92837]
ENGINE AND EXHAUST [94174]
EXHAUST MANIFOLD ASSEMBLY [92855]
EXTERNAL ALTERNATOR AND DRIVE PULLEY ASSEMBLIES [96015]
FLYWHEEL AND CROWN GEAR ASSEMBLY [92856]
FRAME AND RELATED PARTS [94168]
FRONT DRIVE GEARCASE ASSEMBLY [93904]
FRONT RACK, BODY PANEL, AND HEADLIGHT ASSEMBLIES [94166]
FRONT SUSPENSION ASSEMBLY [94170]
FUEL SYSTEM INJECTION PUMP ASSEMBLY [92849]
FUEL TANK AND FUEL FILTER ASSEMBLIES [94172]
HANDLEBAR ASSEMBLY [92826]
HYDRAULIC BRAKE ASSEMBLY [95030]
INSTRUMENT POD ASSEMBLY [94169]
INTAKE MANIFOLD AND THROTTLE CONTROL ASSEMBLY [94181]
OIL PUMP AND PAN ASSEMBLY [94182]
PISTON SET AND CONNECTING ROD ASSEMBLY [92848]
REAR BODY PANEL AND FOOTWELL ASSEMBLIES [94167]
REAR DRIVE GEARCASE ASSEMBLY [90798]
REAR RACK ASSEMBLY [92823]
REAR SUSPENSION ASSEMBLY [94171]
ROCKER ARM COVER AND BREATHER SYSTEM ASSEMBLIES [92844]
SEAT ASSEMBLY [100274]
SHIFT LEVER ASSEMBLY [94173]
STARTER MOTOR ASSEMBLY [92857]
STEERING ASSEMBLY (UP TO VIN: 250000) [93131]
STEERING ASSEMBLY (VIN: 250001 and Up) [300824]
TAILLIGHT ASSEMBLY [88992]
THROTTLE CONTROL AND LOCKED TORQUE DEVICE ASSEMBLIES [92851]
TIMING BELT AND SPEED GOVERNOR ASSEMBLIES [100332]
TOP END GASKET SET ASSEMBLY [92859]
TRANSMISSION LEFT-SIDE ASSEMBLY [92843]
TRANSMISSION RIGHT-SIDE ASSEMBLY [94178]
WATER PUMP AND THERMOSTAT HOUSING ASSEMBLY [94183]
WHEEL AND TIRE ASSEMBLY [92640]
WINCH ASSEMBLY [92825]
WIRING HARNESS ASSEMBLY [94176]
VIEW WISH LIST