Greenville, TX
|
Give Us a Call
(903) 454-4440
Toggle navigation
Home
Brands
Manufacturer Models
OEM Promotions
Polaris
Can-Am
E-Z-Go
Honda
Kawasaki
Suzuki
Inventory
All Inventory In Stock
New Inventory In Stock
Used Inventory
Value Your Trade-In
Request a Model
Schedule a Test Ride
Secure Financing
Parts
Parts Department
Parts Finder
Service
Service Department
Request Polaris Service
Warranty & Recall Look-Up
Specials
Financing
About
Our Dealership
Our Team
Reviews
Customer Survey
Employment
Events Calendar
Locations
Location & Hours
Contact
Parts Finder
Home
›
Parts
›
Parts Finder
Search by :
Part / Desc
VIN
Please Select
Arctic Cat
Honda
Kawasaki
Polaris
Suzuki
*Please enter at least 3 characters
SEARCH
Manufacturer
Arctic Cat
ATVs
2011
ATV 700 DIESEL EFT GREEN [A2011TBT4DETG]
VIEW WISH LIST
Select a Section
Show/Hide
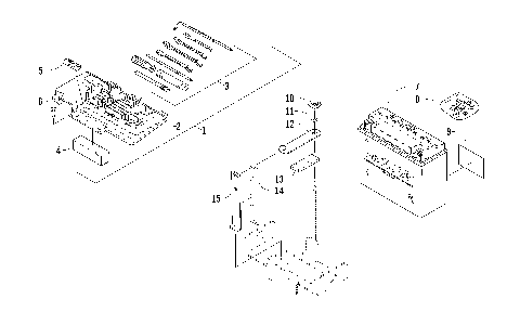
AIR INTAKE ASSEMBLY [92833]
BATTERY ASSEMBLY [92840]
CASE/BELT COOLING ASSEMBLY [92836]
CLUTCH ASSEMBLIES [94177]
COOLING ASSEMBLY (UP TO VIN: X04134) [96180]
COOLING ASSEMBLY (VIN: X04135 and Up) [300838]
CRANKCASE, CRANKSHAFT SUPPORT, AND OIL FILTER ASSEMBLIES [96004]
CRANKSHAFT AND CAMSHAFT ASSEMBLIES [96005]
CYLINDER HEAD, VALVE TRAIN, AND RELATED ASSEMBLY [96003]
DRIVE TRAIN ASSEMBLY [92837]
ENGINE AND EXHAUST [96179]
EXHAUST MANIFOLD ASSEMBLY [96013]
EXTERNAL ALTERNATOR AND DRIVE PULLEY ASSEMBLIES [96015]
FLYWHEEL AND CROWN GEAR ASSEMBLY [92856]
FRAME AND RELATED PARTS [96175]
FRONT DRIVE GEARCASE ASSEMBLY [93904]
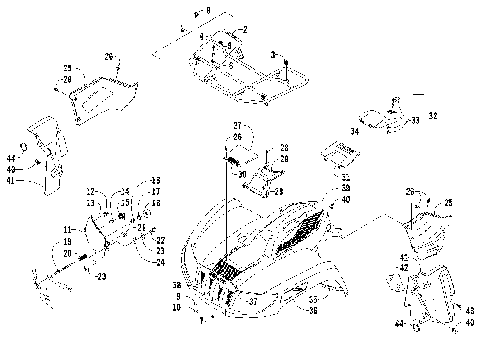
FRONT RACK, BODY PANEL, AND HEADLIGHT ASSEMBLIES [96173]
FRONT SUSPENSION ASSEMBLY [94170]
FUEL SYSTEM INJECTION PUMP ASSEMBLY [96006]
FUEL TANK AND FUEL FILTER ASSEMBLIES [96178]
HANDLEBAR ASSEMBLY [95996]
HYDRAULIC BRAKE ASSEMBLY [96128]
INSTRUMENT POD ASSEMBLY [96176]
INTAKE MANIFOLD AND EGR SYSTEM [96007]
LICENSE PLATE HOLDER ASSEMBLY [96108]
OIL PUMP AND PAN ASSEMBLY [96011]
PARKING BRAKE ASSEMBLY [95941]
PISTON SET AND CONNECTING ROD ASSEMBLY [92848]
PTO VACUUM PUMP ASSEMBLY [96008]
REAR BODY PANEL AND FOOTWELL ASSEMBLIES [96174]
REAR DRIVE GEARCASE ASSEMBLY [90798]
REAR RACK ASSEMBLY [92823]
REAR SUSPENSION ASSEMBLY [94171]
ROCKER ARM COVER AND BREATHER SYSTEM ASSEMBLIES [96002]
SEAT ASSEMBLY [100274]
SHIFT LEVER ASSEMBLY [94173]
STARTER MOTOR ASSEMBLY [100333]
STEERING ASSEMBLY (UP TO VIN: 250000) [96109]
STEERING ASSEMBLY (VIN: 250001 AND UP) [300834]
THROTTLE CONTROL AND LOCKED TORQUE DEVICE ASSEMBLIES [96009]
TIMING BELT AND SPEED GOVERNOR ASSEMBLIES [100332]
TRANSMISSION LEFT-SIDE ASSEMBLY [95043]
TRANSMISSION RIGHT-SIDE ASSEMBLY [94178]
WATER PUMP AND THERMOSTAT HOUSING ASSEMBLY [96012]
WHEEL AND TIRE ASSEMBLY [95924]
WINCH ASSEMBLY [95995]
WIRING HARNESS ASSEMBLY [96001]
AIR INTAKE ASSEMBLY [92833]
BATTERY ASSEMBLY [92840]
CASE/BELT COOLING ASSEMBLY [92836]
CLUTCH ASSEMBLIES [94177]
COOLING ASSEMBLY (UP TO VIN: X04134) [96180]
COOLING ASSEMBLY (VIN: X04135 and Up) [300838]
CRANKCASE, CRANKSHAFT SUPPORT, AND OIL FILTER ASSEMBLIES [96004]
CRANKSHAFT AND CAMSHAFT ASSEMBLIES [96005]
CYLINDER HEAD, VALVE TRAIN, AND RELATED ASSEMBLY [96003]
DRIVE TRAIN ASSEMBLY [92837]
ENGINE AND EXHAUST [96179]
EXHAUST MANIFOLD ASSEMBLY [96013]
EXTERNAL ALTERNATOR AND DRIVE PULLEY ASSEMBLIES [96015]
FLYWHEEL AND CROWN GEAR ASSEMBLY [92856]
FRAME AND RELATED PARTS [96175]
FRONT DRIVE GEARCASE ASSEMBLY [93904]
FRONT RACK, BODY PANEL, AND HEADLIGHT ASSEMBLIES [96173]
FRONT SUSPENSION ASSEMBLY [94170]
FUEL SYSTEM INJECTION PUMP ASSEMBLY [96006]
FUEL TANK AND FUEL FILTER ASSEMBLIES [96178]
HANDLEBAR ASSEMBLY [95996]
HYDRAULIC BRAKE ASSEMBLY [96128]
INSTRUMENT POD ASSEMBLY [96176]
INTAKE MANIFOLD AND EGR SYSTEM [96007]
LICENSE PLATE HOLDER ASSEMBLY [96108]
OIL PUMP AND PAN ASSEMBLY [96011]
PARKING BRAKE ASSEMBLY [95941]
PISTON SET AND CONNECTING ROD ASSEMBLY [92848]
PTO VACUUM PUMP ASSEMBLY [96008]
REAR BODY PANEL AND FOOTWELL ASSEMBLIES [96174]
REAR DRIVE GEARCASE ASSEMBLY [90798]
REAR RACK ASSEMBLY [92823]
REAR SUSPENSION ASSEMBLY [94171]
ROCKER ARM COVER AND BREATHER SYSTEM ASSEMBLIES [96002]
SEAT ASSEMBLY [100274]
SHIFT LEVER ASSEMBLY [94173]
STARTER MOTOR ASSEMBLY [100333]
STEERING ASSEMBLY (UP TO VIN: 250000) [96109]
STEERING ASSEMBLY (VIN: 250001 AND UP) [300834]
THROTTLE CONTROL AND LOCKED TORQUE DEVICE ASSEMBLIES [96009]
TIMING BELT AND SPEED GOVERNOR ASSEMBLIES [100332]
TRANSMISSION LEFT-SIDE ASSEMBLY [95043]
TRANSMISSION RIGHT-SIDE ASSEMBLY [94178]
WATER PUMP AND THERMOSTAT HOUSING ASSEMBLY [96012]
WHEEL AND TIRE ASSEMBLY [95924]
WINCH ASSEMBLY [95995]
WIRING HARNESS ASSEMBLY [96001]
VIEW WISH LIST