Greenville, TX
|
Give Us a Call
(903) 454-4440
Toggle navigation
Home
Brands
Manufacturer Models
OEM Promotions
Polaris
Can-Am
E-Z-Go
Honda
Kawasaki
Suzuki
Inventory
All Inventory In Stock
New Inventory In Stock
Used Inventory
Value Your Trade-In
Request a Model
Schedule a Test Ride
Secure Financing
Parts
Parts Department
Parts Finder
Service
Service Department
Request Polaris Service
Warranty & Recall Look-Up
Specials
Financing
About
Our Dealership
Our Team
Reviews
Customer Survey
Employment
Events Calendar
Locations
Location & Hours
Contact
Parts Finder
Home
›
Parts
›
Parts Finder
Search by :
Part / Desc
VIN
Please Select
Arctic Cat
Honda
Kawasaki
Polaris
Suzuki
*Please enter at least 3 characters
SEARCH
Manufacturer
Arctic Cat
ATVs
2011
ATV 650 H1 MUD PRO INTERNATIONAL CAT GREEN-BLACK [A2011IFS4BOSZ]
VIEW WISH LIST
Select a Section
Show/Hide
AIR INTAKE ASSEMBLY [92419]
BATTERY AND STARTER ASSEMBLY [93399]
CAM CHAIN ASSEMBLY [89422]
CARBURETOR [92425]
CASE/BELT COOLING ASSEMBLY [97630]
CLUTCH/V-BELT/MAGNETO COVER ASSEMBLY [94552]
COOLING ASSEMBLY [93397]
CRANK BALANCER ASSEMBLY [94435]
CRANKCASE ASSEMBLY [92675]
CRANKSHAFT AND PISTON ASSEMBLY [94534]
CYLINDER ASSEMBLY [90801]
CYLINDER HEAD AND CAMSHAFT/VALVE ASSEMBLY [94533]
DRIVE TRAIN ASSEMBLY [92423]
ENGINE AND EXHAUST [93396]
FRAME AND RELATED PARTS [93392]
FRONT BODY PANEL AND HEADLIGHT ASSEMBLIES [93390]
FRONT DRIVE GEARCASE ASSEMBLY [93886]
FRONT SUSPENSION ASSEMBLY [93393]
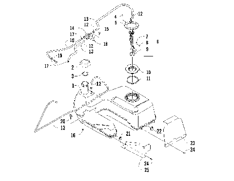
GAS TANK ASSEMBLY [92418]
GEAR SHIFTING ASSEMBLY [300863]
HANDLEBAR ASSEMBLY [92087]
HYDRAULIC BRAKE ASSEMBLY [94545]
INSTRUMENT POD ASSEMBLY [92415]
MAGNETO ASSEMBLY [90806]
OIL FILTER/PUMP ASSEMBLY [99739]
REAR DRIVE GEARCASE ASSEMBLY [90857]
REAR RACK, BODY PANEL, AND FOOTWELL ASSEMBLIES [93391]
REAR SUSPENSION ASSEMBLY [93394]
SEAT ASSEMBLY [100274]
SECONDARY DRIVE ASSEMBLY [93921]
SECONDARY TRANSMISSION ASSEMBLY (ENGINE SERIAL NO. 10027870 and Up) [300854]
SECONDARY TRANSMISSION ASSEMBLY (UP TO ENGINE SERIAL NO. 10027869) [300871]
SHIFT LEVER ASSEMBLY [96951]
STARTER CLUTCH ASSEMBLY [300126]
STEERING ASSEMBLY (UP TO VIN: 250000) [93131]
STEERING ASSEMBLY (VIN: 250001 and Up) [300824]
TAILLIGHT ASSEMBLY [88992]
TRANSMISSION ASSEMBLY [93889]
WATER PUMP ASSEMBLY [90695]
WHEEL AND TIRE ASSEMBLY [93395]
WIRING HARNESS ASSEMBLY [93398]
AIR INTAKE ASSEMBLY [92419]
BATTERY AND STARTER ASSEMBLY [93399]
CAM CHAIN ASSEMBLY [89422]
CARBURETOR [92425]
CASE/BELT COOLING ASSEMBLY [97630]
CLUTCH/V-BELT/MAGNETO COVER ASSEMBLY [94552]
COOLING ASSEMBLY [93397]
CRANK BALANCER ASSEMBLY [94435]
CRANKCASE ASSEMBLY [92675]
CRANKSHAFT AND PISTON ASSEMBLY [94534]
CYLINDER ASSEMBLY [90801]
CYLINDER HEAD AND CAMSHAFT/VALVE ASSEMBLY [94533]
DRIVE TRAIN ASSEMBLY [92423]
ENGINE AND EXHAUST [93396]
FRAME AND RELATED PARTS [93392]
FRONT BODY PANEL AND HEADLIGHT ASSEMBLIES [93390]
FRONT DRIVE GEARCASE ASSEMBLY [93886]
FRONT SUSPENSION ASSEMBLY [93393]
GAS TANK ASSEMBLY [92418]
GEAR SHIFTING ASSEMBLY [300863]
HANDLEBAR ASSEMBLY [92087]
HYDRAULIC BRAKE ASSEMBLY [94545]
INSTRUMENT POD ASSEMBLY [92415]
MAGNETO ASSEMBLY [90806]
OIL FILTER/PUMP ASSEMBLY [99739]
REAR DRIVE GEARCASE ASSEMBLY [90857]
REAR RACK, BODY PANEL, AND FOOTWELL ASSEMBLIES [93391]
REAR SUSPENSION ASSEMBLY [93394]
SEAT ASSEMBLY [100274]
SECONDARY DRIVE ASSEMBLY [93921]
SECONDARY TRANSMISSION ASSEMBLY (ENGINE SERIAL NO. 10027870 and Up) [300854]
SECONDARY TRANSMISSION ASSEMBLY (UP TO ENGINE SERIAL NO. 10027869) [300871]
SHIFT LEVER ASSEMBLY [96951]
STARTER CLUTCH ASSEMBLY [300126]
STEERING ASSEMBLY (UP TO VIN: 250000) [93131]
STEERING ASSEMBLY (VIN: 250001 and Up) [300824]
TAILLIGHT ASSEMBLY [88992]
TRANSMISSION ASSEMBLY [93889]
WATER PUMP ASSEMBLY [90695]
WHEEL AND TIRE ASSEMBLY [93395]
WIRING HARNESS ASSEMBLY [93398]
VIEW WISH LIST