Greenville, TX
|
Give Us a Call
(903) 454-4440
Toggle navigation
Home
Brands
Manufacturer Models
OEM Promotions
Polaris
Can-Am
E-Z-Go
Honda
Kawasaki
Suzuki
Inventory
All Inventory In Stock
New Inventory In Stock
Used Inventory
Value Your Trade-In
Request a Model
Schedule a Test Ride
Secure Financing
Parts
Parts Department
Parts Finder
Service
Service Department
Request Polaris Service
Warranty & Recall Look-Up
Specials
Financing
About
Our Dealership
Our Team
Reviews
Customer Survey
Employment
Events Calendar
Locations
Location & Hours
Contact
Parts Finder
Home
›
Parts
›
Parts Finder
Search by :
Part / Desc
VIN
Please Select
Arctic Cat
Honda
Kawasaki
Polaris
Suzuki
*Please enter at least 3 characters
SEARCH
Manufacturer
Arctic Cat
ATVs
2011
ATV 550s EFT METALLIC GRAY [A2011IBO1PETS]
VIEW WISH LIST
Select a Section
Show/Hide
AIR INTAKE ASSEMBLY [95913]
BATTERY AND STARTER ASSEMBLY [97020]
CAM CHAIN ASSEMBLY [89422]
CASE/BELT COOLING ASSEMBLY [91976]
CLUTCH/V-BELT/MAGNETO COVER ASSEMBLY [94403]
COOLING ASSEMBLY [96121]
CRANK BALANCER ASSEMBLY [94435]
CRANKCASE ASSEMBLY [99823]
CRANKSHAFT AND PISTON ASSEMBLY [94487]
CYLINDER ASSEMBLY [93384]
CYLINDER HEAD AND CAMSHAFT/VALVE ASSEMBLY [93116]
DRIVE TRAIN ASSEMBLY [92118]
ENGINE AND EXHAUST [96113]
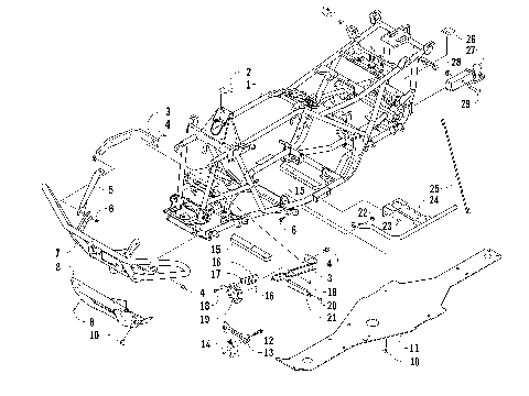
FRAME AND RELATED PARTS [96118]
FRONT DRIVE GEARCASE ASSEMBLY [93897]
FRONT RACK, BODY PANEL, AND HEADLIGHT ASSEMBLIES [96116]
FRONT SUSPENSION ASSEMBLY [93108]
GAS TANK ASSEMBLY [300825]
GEAR SHIFTING ASSEMBLY [300863]
HANDLEBAR ASSEMBLY [95898]
HYDRAULIC BRAKE ASSEMBLY [96112]
INSTRUMENT POD ASSEMBLY [96120]
LICENSE PLATE HOLDER ASSEMBLY [96108]
MAGNETO ASSEMBLY [91019]
OIL FILTER/PUMP ASSEMBLY [99739]
PARKING BRAKE ASSEMBLY [100279]
REAR DRIVE GEARCASE ASSEMBLY [90798]
REAR RACK, BODY PANEL, AND FOOTWELL ASSEMBLIES [96117]
REAR SUSPENSION ASSEMBLY [95900]
SEAT ASSEMBLY [100274]
SECONDARY DRIVE ASSEMBLY [93921]
SECONDARY TRANSMISSION ASSEMBLY (ENGINE SERIAL NO. 60093070 and Up) [300852]
SECONDARY TRANSMISSION ASSEMBLY (Up to ENGINE SERIAL NO. 60093069) [300870]
SHIFT LEVER ASSEMBLY [96951]
STARTER CLUTCH ASSEMBLY [300126]
STEERING ASSEMBLY [96119]
THROTTLE BODY ASSEMBLY [89419]
TRANSMISSION ASSEMBLY [96268]
WATER PUMP ASSEMBLY [90695]
WHEEL AND TIRE ASSEMBLY [95906]
WINCH ASSEMBLY [95895]
WIRING HARNESS ASSEMBLY [95915]
AIR INTAKE ASSEMBLY [95913]
BATTERY AND STARTER ASSEMBLY [97020]
CAM CHAIN ASSEMBLY [89422]
CASE/BELT COOLING ASSEMBLY [91976]
CLUTCH/V-BELT/MAGNETO COVER ASSEMBLY [94403]
COOLING ASSEMBLY [96121]
CRANK BALANCER ASSEMBLY [94435]
CRANKCASE ASSEMBLY [99823]
CRANKSHAFT AND PISTON ASSEMBLY [94487]
CYLINDER ASSEMBLY [93384]
CYLINDER HEAD AND CAMSHAFT/VALVE ASSEMBLY [93116]
DRIVE TRAIN ASSEMBLY [92118]
ENGINE AND EXHAUST [96113]
FRAME AND RELATED PARTS [96118]
FRONT DRIVE GEARCASE ASSEMBLY [93897]
FRONT RACK, BODY PANEL, AND HEADLIGHT ASSEMBLIES [96116]
FRONT SUSPENSION ASSEMBLY [93108]
GAS TANK ASSEMBLY [300825]
GEAR SHIFTING ASSEMBLY [300863]
HANDLEBAR ASSEMBLY [95898]
HYDRAULIC BRAKE ASSEMBLY [96112]
INSTRUMENT POD ASSEMBLY [96120]
LICENSE PLATE HOLDER ASSEMBLY [96108]
MAGNETO ASSEMBLY [91019]
OIL FILTER/PUMP ASSEMBLY [99739]
PARKING BRAKE ASSEMBLY [100279]
REAR DRIVE GEARCASE ASSEMBLY [90798]
REAR RACK, BODY PANEL, AND FOOTWELL ASSEMBLIES [96117]
REAR SUSPENSION ASSEMBLY [95900]
SEAT ASSEMBLY [100274]
SECONDARY DRIVE ASSEMBLY [93921]
SECONDARY TRANSMISSION ASSEMBLY (ENGINE SERIAL NO. 60093070 and Up) [300852]
SECONDARY TRANSMISSION ASSEMBLY (Up to ENGINE SERIAL NO. 60093069) [300870]
SHIFT LEVER ASSEMBLY [96951]
STARTER CLUTCH ASSEMBLY [300126]
STEERING ASSEMBLY [96119]
THROTTLE BODY ASSEMBLY [89419]
TRANSMISSION ASSEMBLY [96268]
WATER PUMP ASSEMBLY [90695]
WHEEL AND TIRE ASSEMBLY [95906]
WINCH ASSEMBLY [95895]
WIRING HARNESS ASSEMBLY [95915]
VIEW WISH LIST