Greenville, TX
|
Give Us a Call
(903) 454-4440
Toggle navigation
Home
Brands
Manufacturer Models
OEM Promotions
Polaris
Can-Am
E-Z-Go
Honda
Kawasaki
Suzuki
Inventory
All Inventory In Stock
New Inventory In Stock
Used Inventory
Value Your Trade-In
Request a Model
Schedule a Test Ride
Secure Financing
Parts
Parts Department
Parts Finder
Service
Service Department
Request Polaris Service
Warranty & Recall Look-Up
Specials
Financing
About
Our Dealership
Our Team
Reviews
Customer Survey
Employment
Events Calendar
Locations
Location & Hours
Contact
Parts Finder
Home
›
Parts
›
Parts Finder
Search by :
Part / Desc
VIN
Please Select
Arctic Cat
Honda
Kawasaki
Polaris
Suzuki
*Please enter at least 3 characters
SEARCH
Manufacturer
Arctic Cat
ATVs
2010
ATV EUROPEAN OFF ROAD METALLIC CAT GREEN [A2010IEW4EEOA]
VIEW WISH LIST
Select a Section
Show/Hide
AIR INTAKE ASSEMBLY [92056]
BATTERY AND STARTER ASSEMBLY [92063]
CAM CHAIN ASSEMBLY [96536]
CASE/BELT COOLING ASSEMBLY [92059]
CLUTCH SIDE ENGINE COVERS [92326]
COOLING ASSEMBLY [92058]
CRANKCASE ASSEMBLY [92066]
CRANKSHAFT AND PISTON ASSEMBLY [90315]
CYLINDER ASSEMBLY [92064]
CYLINDER HEAD AND CAMSHAFT/VALVE ASSEMBLY [92065]
DRIVE TRAIN ASSEMBLY [92060]
ENGINE AND EXHAUST [93944]
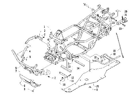
FRAME AND RELATED PARTS [96281]
FRONT DRIVE GEARCASE ASSEMBLY [93901]
FRONT RACK, BODY PANEL, AND HEADLIGHT ASSEMBLIES [96280]
FRONT SUSPENSION ASSEMBLY [92051]
GAS TANK ASSEMBLY (VIN: 4UF10ATV5AT202942 and Up) [300826]
GEAR SHIFTING ASSEMBLY [90322]
HANDLEBAR ASSEMBLY [96282]
HYDRAULIC BRAKE ASSEMBLY [95080]
INSTRUMENT POD ASSEMBLY [96283]
MAGNETO ASSEMBLY [93953]
MAGNETO SIDE ENGINE COVERS [96253]
OIL FILTER/PUMP ASSEMBLY [90317]
REAR DRIVE GEARCASE ASSEMBLY [90768]
REAR RACK, BODY PANEL, AND FOOTWELL ASSEMBLIES [92075]
REAR SUSPENSION ASSEMBLY [92052]
SEAT ASSEMBLY [92049]
SECONDARY DRIVE ASSEMBLY [92071]
SECONDARY TRANSMISSION ASSEMBLY [300867]
SHIFT LEVER ASSEMBLY [90763]
STARTER CLUTCH ASSEMBLY [99968]
STEERING ASSEMBLY [300839]
TAILLIGHT ASSEMBLY [88992]
THROTTLE BODY ASSEMBLY [96969]
TRANSMISSION ASSEMBLY [93950]
WATER PUMP ASSEMBLY [92068]
WHEEL AND TIRE ASSEMBLY [92053]
WINCH ASSEMBLY [96224]
WIRING HARNESS ASSEMBLY [92062]
AIR INTAKE ASSEMBLY [92056]
BATTERY AND STARTER ASSEMBLY [92063]
CAM CHAIN ASSEMBLY [96536]
CASE/BELT COOLING ASSEMBLY [92059]
CLUTCH SIDE ENGINE COVERS [92326]
COOLING ASSEMBLY [92058]
CRANKCASE ASSEMBLY [92066]
CRANKSHAFT AND PISTON ASSEMBLY [90315]
CYLINDER ASSEMBLY [92064]
CYLINDER HEAD AND CAMSHAFT/VALVE ASSEMBLY [92065]
DRIVE TRAIN ASSEMBLY [92060]
ENGINE AND EXHAUST [93944]
FRAME AND RELATED PARTS [96281]
FRONT DRIVE GEARCASE ASSEMBLY [93901]
FRONT RACK, BODY PANEL, AND HEADLIGHT ASSEMBLIES [96280]
FRONT SUSPENSION ASSEMBLY [92051]
GAS TANK ASSEMBLY (VIN: 4UF10ATV5AT202942 and Up) [300826]
GEAR SHIFTING ASSEMBLY [90322]
HANDLEBAR ASSEMBLY [96282]
HYDRAULIC BRAKE ASSEMBLY [95080]
INSTRUMENT POD ASSEMBLY [96283]
MAGNETO ASSEMBLY [93953]
MAGNETO SIDE ENGINE COVERS [96253]
OIL FILTER/PUMP ASSEMBLY [90317]
REAR DRIVE GEARCASE ASSEMBLY [90768]
REAR RACK, BODY PANEL, AND FOOTWELL ASSEMBLIES [92075]
REAR SUSPENSION ASSEMBLY [92052]
SEAT ASSEMBLY [92049]
SECONDARY DRIVE ASSEMBLY [92071]
SECONDARY TRANSMISSION ASSEMBLY [300867]
SHIFT LEVER ASSEMBLY [90763]
STARTER CLUTCH ASSEMBLY [99968]
STEERING ASSEMBLY [300839]
TAILLIGHT ASSEMBLY [88992]
THROTTLE BODY ASSEMBLY [96969]
TRANSMISSION ASSEMBLY [93950]
WATER PUMP ASSEMBLY [92068]
WHEEL AND TIRE ASSEMBLY [92053]
WINCH ASSEMBLY [96224]
WIRING HARNESS ASSEMBLY [92062]
VIEW WISH LIST