Greenville, TX
|
Give Us a Call
(903) 454-4440
Toggle navigation
Home
Brands
Manufacturer Models
OEM Promotions
Polaris
Can-Am
E-Z-Go
Honda
Kawasaki
Suzuki
Inventory
All Inventory In Stock
New Inventory In Stock
Used Inventory
Value Your Trade-In
Request a Model
Schedule a Test Ride
Secure Financing
Parts
Parts Department
Parts Finder
Service
Service Department
Request Polaris Service
Warranty & Recall Look-Up
Specials
Financing
About
Our Dealership
Our Team
Reviews
Customer Survey
Employment
Events Calendar
Locations
Location & Hours
Contact
Parts Finder
Home
›
Parts
›
Parts Finder
Search by :
Part / Desc
VIN
Please Select
Arctic Cat
Honda
Kawasaki
Polaris
Suzuki
*Please enter at least 3 characters
SEARCH
Manufacturer
Arctic Cat
ATVs
2009
ATV 500 4X4 MANUAL GREEN [A2009IBM4AUSG]
VIEW WISH LIST
Select a Section
Show/Hide
AIR INTAKE ASSEMBLY [89004]
AUXILIARY BRAKE ASSEMBLY [88999]
BATTERY ASSEMBLY [89185]
CAM CHAIN ASSEMBLY [89199]
CAMSHAFT/VALVE ASSEMBLY [89198]
CARBURETOR [89012]
CLUTCH ASSEMBLY [89025]
CONTROL SWITCH HOUSING ASSEMBLY [89033]
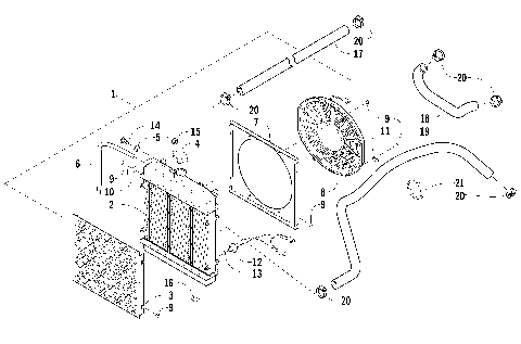
COOLING ASSEMBLY [89007]
CRANK BALANCER ASSEMBLY [89019]
CRANKCASE ASSEMBLY [89015]
CRANKCASE COVER ASSEMBLY [89016]
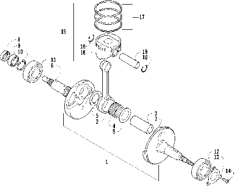
CRANKSHAFT ASSEMBLY [89017]
CYLINDER ASSEMBLY [89192]
CYLINDER HEAD ASSEMBLY [89013]
DRIVE TRAIN ASSEMBLY [89008]
ENGINE AND EXHAUST [89006]
FRAME AND RELATED PARTS [89177]
FRONT DRIVE GEARCASE ASSEMBLY [89009]
FRONT RACK, BODY PANEL, AND HEADLIGHT ASSEMBLIES [89036]
FRONT SUSPENSION ASSEMBLY [89039]
GAS TANK ASSEMBLY [89182]
GEAR SHIFTING ASSEMBLY [89029]
HANDLEBAR ASSEMBLY [89038]
HI/LO SHIFTER ASSEMBLY [89030]
HYDRAULIC BRAKE ASSEMBLY [88717]
HYDRAULIC HAND BRAKE ASSEMBLY [90298]
MAGNETO ASSEMBLY [89208]
OIL FILTER/PUMP ASSEMBLY [89023]
REAR DRIVE GEARCASE ASSEMBLY [89010]
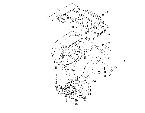
REAR RACK, BODY PANEL, AND FOOTWELL ASSEMBLY [89037]
REAR SUSPENSION ASSEMBLY [89040]
RECOIL STARTER ASSEMBLY [89200]
SEAT ASSEMBLY [88993]
SECONDARY DRIVE ASSEMBLY [89028]
SECONDARY TRANSMISSION ASSEMBLY [89027]
SHIFT LEVER ASSEMBLY [89003]
STARTER CLUTCH ASSEMBLY [89196]
STARTER MOTOR ASSEMBLY [89031]
STEERING ASSEMBLY [300839]
TAILLIGHT ASSEMBLY [88992]
THROTTLE CASE ASSEMBLY [89034]
TRANSMISSION ASSEMBLY [89026]
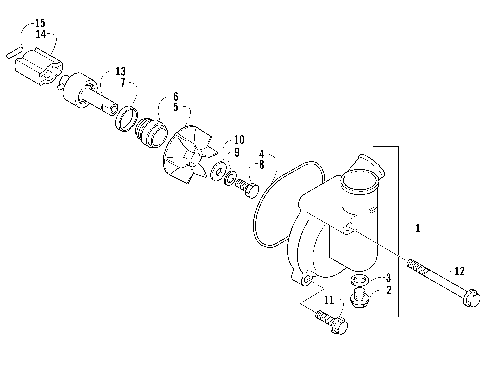
WATER PUMP ASSEMBLY [89024]
WHEEL AND TIRE ASSEMBLY [89041]
WIRING HARNESS ASSEMBLY [89011]
AIR INTAKE ASSEMBLY [89004]
AUXILIARY BRAKE ASSEMBLY [88999]
BATTERY ASSEMBLY [89185]
CAM CHAIN ASSEMBLY [89199]
CAMSHAFT/VALVE ASSEMBLY [89198]
CARBURETOR [89012]
CLUTCH ASSEMBLY [89025]
CONTROL SWITCH HOUSING ASSEMBLY [89033]
COOLING ASSEMBLY [89007]
CRANK BALANCER ASSEMBLY [89019]
CRANKCASE ASSEMBLY [89015]
CRANKCASE COVER ASSEMBLY [89016]
CRANKSHAFT ASSEMBLY [89017]
CYLINDER ASSEMBLY [89192]
CYLINDER HEAD ASSEMBLY [89013]
DRIVE TRAIN ASSEMBLY [89008]
ENGINE AND EXHAUST [89006]
FRAME AND RELATED PARTS [89177]
FRONT DRIVE GEARCASE ASSEMBLY [89009]
FRONT RACK, BODY PANEL, AND HEADLIGHT ASSEMBLIES [89036]
FRONT SUSPENSION ASSEMBLY [89039]
GAS TANK ASSEMBLY [89182]
GEAR SHIFTING ASSEMBLY [89029]
HANDLEBAR ASSEMBLY [89038]
HI/LO SHIFTER ASSEMBLY [89030]
HYDRAULIC BRAKE ASSEMBLY [88717]
HYDRAULIC HAND BRAKE ASSEMBLY [90298]
MAGNETO ASSEMBLY [89208]
OIL FILTER/PUMP ASSEMBLY [89023]
REAR DRIVE GEARCASE ASSEMBLY [89010]
REAR RACK, BODY PANEL, AND FOOTWELL ASSEMBLY [89037]
REAR SUSPENSION ASSEMBLY [89040]
RECOIL STARTER ASSEMBLY [89200]
SEAT ASSEMBLY [88993]
SECONDARY DRIVE ASSEMBLY [89028]
SECONDARY TRANSMISSION ASSEMBLY [89027]
SHIFT LEVER ASSEMBLY [89003]
STARTER CLUTCH ASSEMBLY [89196]
STARTER MOTOR ASSEMBLY [89031]
STEERING ASSEMBLY [300839]
TAILLIGHT ASSEMBLY [88992]
THROTTLE CASE ASSEMBLY [89034]
TRANSMISSION ASSEMBLY [89026]
WATER PUMP ASSEMBLY [89024]
WHEEL AND TIRE ASSEMBLY [89041]
WIRING HARNESS ASSEMBLY [89011]
VIEW WISH LIST