Greenville, TX
|
Give Us a Call
(903) 454-4440
Toggle navigation
Home
Brands
Manufacturer Models
OEM Promotions
Polaris
Can-Am
E-Z-Go
Honda
Kawasaki
Suzuki
Inventory
All Inventory In Stock
New Inventory In Stock
Used Inventory
Value Your Trade-In
Request a Model
Schedule a Test Ride
Secure Financing
Parts
Parts Department
Parts Finder
Service
Service Department
Request Polaris Service
Warranty & Recall Look-Up
Specials
Financing
About
Our Dealership
Our Team
Reviews
Customer Survey
Employment
Events Calendar
Locations
Location & Hours
Contact
Parts Finder
Home
›
Parts
›
Parts Finder
Search by :
Part / Desc
VIN
Please Select
Arctic Cat
Honda
Kawasaki
Polaris
Suzuki
*Please enter at least 3 characters
SEARCH
Manufacturer
Arctic Cat
ATVs
2008
ATV 250 DVX BLACK-CAT GREEN [A2008KSE2BUSE]
VIEW WISH LIST
Select a Section
Show/Hide
AIR INTAKE ASSEMBLY [85407]
AUXILIARY BRAKE ASSEMBLY [85469]
BATTERY ASSEMBLY [85457]
BODY PANEL ASSEMBLY [85475]
CARBURETOR ASSEMBLY [89297]
CLUTCH ASSEMBLY [92568]
COOLING ASSEMBLY [85460]
CRANKCASE ASSEMBLY [87193]
CRANKCASE COVER ASSEMBLY [89300]
CYLINDER HEAD ASSEMBLY [87659]
DECALS [87731]
ELECTRICAL AND WIRING HARNESS ASSEMBLY [87188]
EXHAUST ASSEMBLY [85459]
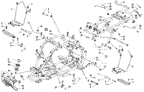
FRAME AND RELATED PARTS ASSEMBLY [87665]
FRONT SUSPENSION ASSEMBLY [87669]
FRONT WHEELS AND BRAKE ASSEMBLY [85451]
GAS TANK ASSEMBLY [87658]
HANDLEBAR AND CONTROLS ASSEMBLY [87657]
HEADLIGHT ASSEMBLY [85458]
HYDRAULIC BRAKE HOSE AND HAND BRAKE ASSEMBLY [87666]
PILOT LAMP ASSEMBLY [85448]
PISTON AND CRANKSHAFT ASSEMBLY [89299]
REAR AXLE ASSEMBLY [87185]
REAR SUSPENSION ASSEMBLY [87670]
REAR WHEELS AND BRAKE ASSEMBLY [87668]
SEAT AND TOOL KIT ASSEMBLY [85471]
SHIFT LEVER ASSEMBLY [87667]
STARTER MOTOR AND MAGNETO ASSEMBLY [85472]
STEERING POST ASSEMBLY [85395]
TAILLIGHT ASSEMBLY [87189]
TRANSMISSION ASSEMBLY [85464]
TRANSMISSION CASE ASSEMBLY [87194]
AIR INTAKE ASSEMBLY [85407]
AUXILIARY BRAKE ASSEMBLY [85469]
BATTERY ASSEMBLY [85457]
BODY PANEL ASSEMBLY [85475]
CARBURETOR ASSEMBLY [89297]
CLUTCH ASSEMBLY [92568]
COOLING ASSEMBLY [85460]
CRANKCASE ASSEMBLY [87193]
CRANKCASE COVER ASSEMBLY [89300]
CYLINDER HEAD ASSEMBLY [87659]
DECALS [87731]
ELECTRICAL AND WIRING HARNESS ASSEMBLY [87188]
EXHAUST ASSEMBLY [85459]
FRAME AND RELATED PARTS ASSEMBLY [87665]
FRONT SUSPENSION ASSEMBLY [87669]
FRONT WHEELS AND BRAKE ASSEMBLY [85451]
GAS TANK ASSEMBLY [87658]
HANDLEBAR AND CONTROLS ASSEMBLY [87657]
HEADLIGHT ASSEMBLY [85458]
HYDRAULIC BRAKE HOSE AND HAND BRAKE ASSEMBLY [87666]
PILOT LAMP ASSEMBLY [85448]
PISTON AND CRANKSHAFT ASSEMBLY [89299]
REAR AXLE ASSEMBLY [87185]
REAR SUSPENSION ASSEMBLY [87670]
REAR WHEELS AND BRAKE ASSEMBLY [87668]
SEAT AND TOOL KIT ASSEMBLY [85471]
SHIFT LEVER ASSEMBLY [87667]
STARTER MOTOR AND MAGNETO ASSEMBLY [85472]
STEERING POST ASSEMBLY [85395]
TAILLIGHT ASSEMBLY [87189]
TRANSMISSION ASSEMBLY [85464]
TRANSMISSION CASE ASSEMBLY [87194]
VIEW WISH LIST