Greenville, TX
|
Give Us a Call
(903) 454-4440
Toggle navigation
Home
Brands
Manufacturer Models
OEM Promotions
Polaris
Can-Am
E-Z-Go
Honda
Kawasaki
Suzuki
Inventory
All Inventory In Stock
New Inventory In Stock
Used Inventory
Value Your Trade-In
Request a Model
Schedule a Test Ride
Secure Financing
Parts
Parts Department
Parts Finder
Service
Service Department
Request Polaris Service
Warranty & Recall Look-Up
Specials
Financing
About
Our Dealership
Our Team
Reviews
Customer Survey
Employment
Events Calendar
Locations
Location & Hours
Contact
Parts Finder
Home
›
Parts
›
Parts Finder
Search by :
Part / Desc
VIN
Please Select
Arctic Cat
Honda
Kawasaki
Polaris
Suzuki
*Please enter at least 3 characters
SEARCH
Manufacturer
Arctic Cat
ATVs
2007
ATV 400 AUTOMATIC TRANSMISSION 4X4 TRV RED [A2007TBH4BUSR]
VIEW WISH LIST
Select a Section
Show/Hide
AIR INTAKE ASSEMBLY [85615]
AUXILIARY BRAKE ASSEMBLY [85599]
BATTERY ASSEMBLY [83547]
CAM CHAIN ASSEMBLY [85684]
CAMSHAFT/VALVE ASSEMBLY [83763]
CARBURETOR [85616]
CASE/BELT COOLING ASSEMBLY [83946]
CLUTCH/V-BELT/MAGNETO COVER ASSEMBLY [87336]
CONTROL SWITCH HOUSING ASSEMBLY [89209]
CRANK BALANCER ASSEMBLY [83621]
CRANKCASE ASSEMBLY [87335]
CRANKSHAFT ASSEMBLY [85619]
CYLINDER ASSEMBLY [59007]
CYLINDER HEAD ASSEMBLY [87334]
DECALS [85594]
ENGINE AND EXHAUST [84616]
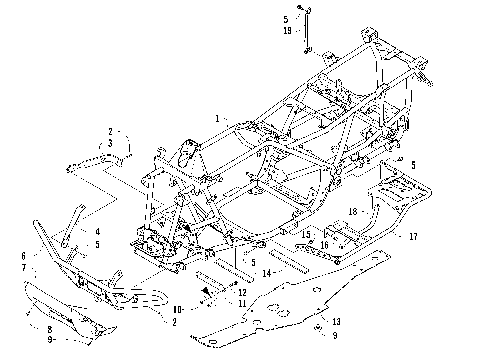
FRAME AND RELATED PARTS [85595]
FRONT BODY PANEL ASSEMBLY [85592]
FRONT DRIVE GEARCASE ASSEMBLY [85605]
FRONT SUSPENSION ASSEMBLY [85597]
GAS TANK ASSEMBLY [85601]
GEAR SHIFTING ASSEMBLY [83624]
HANDLEBAR ASSEMBLY [85613]
HYDRAULIC BRAKE ASSEMBLY [85600]
HYDRAULIC HAND BRAKE ASSEMBLY [90298]
MAGNETO ASSEMBLY [87341]
OIL COOLER ASSEMBLY (VIN: Up to V17T230317) [87169]
OIL COOLER ASSEMBLY (VIN: V17T230317 and Above) [87168]
OIL FILTER/PUMP ASSEMBLY [87499]
REAR BODY PANEL ASSEMBLY [85593]
REAR DRIVE GEARCASE ASSEMBLY [85606]
REAR SUSPENSION ASSEMBLY [85598]
RECOIL STARTER ASSEMBLY [59004]
REVERSE SHIFT LEVER ASSEMBLY [85602]
SEAT AND BACKREST ASSEMBLY [84497]
SECONDARY DRIVE ASSEMBLY [85621]
SECONDARY TRANSMISSION ASSEMBLY [81236]
STARTER CLUTCH ASSEMBLY [55476]
STARTER MOTOR ASSEMBLY [59016]
STEERING POST ASSEMBLY [85588]
TAILLIGHT ASSEMBLY [88992]
THROTTLE CASE ASSEMBLY [89034]
TRANSMISSION ASSEMBLY [87338]
WHEEL AND TIRE ASSEMBLY [88998]
WIRING HARNESS ASSEMBLY [85607]
AIR INTAKE ASSEMBLY [85615]
AUXILIARY BRAKE ASSEMBLY [85599]
BATTERY ASSEMBLY [83547]
CAM CHAIN ASSEMBLY [85684]
CAMSHAFT/VALVE ASSEMBLY [83763]
CARBURETOR [85616]
CASE/BELT COOLING ASSEMBLY [83946]
CLUTCH/V-BELT/MAGNETO COVER ASSEMBLY [87336]
CONTROL SWITCH HOUSING ASSEMBLY [89209]
CRANK BALANCER ASSEMBLY [83621]
CRANKCASE ASSEMBLY [87335]
CRANKSHAFT ASSEMBLY [85619]
CYLINDER ASSEMBLY [59007]
CYLINDER HEAD ASSEMBLY [87334]
DECALS [85594]
ENGINE AND EXHAUST [84616]
FRAME AND RELATED PARTS [85595]
FRONT BODY PANEL ASSEMBLY [85592]
FRONT DRIVE GEARCASE ASSEMBLY [85605]
FRONT SUSPENSION ASSEMBLY [85597]
GAS TANK ASSEMBLY [85601]
GEAR SHIFTING ASSEMBLY [83624]
HANDLEBAR ASSEMBLY [85613]
HYDRAULIC BRAKE ASSEMBLY [85600]
HYDRAULIC HAND BRAKE ASSEMBLY [90298]
MAGNETO ASSEMBLY [87341]
OIL COOLER ASSEMBLY (VIN: Up to V17T230317) [87169]
OIL COOLER ASSEMBLY (VIN: V17T230317 and Above) [87168]
OIL FILTER/PUMP ASSEMBLY [87499]
REAR BODY PANEL ASSEMBLY [85593]
REAR DRIVE GEARCASE ASSEMBLY [85606]
REAR SUSPENSION ASSEMBLY [85598]
RECOIL STARTER ASSEMBLY [59004]
REVERSE SHIFT LEVER ASSEMBLY [85602]
SEAT AND BACKREST ASSEMBLY [84497]
SECONDARY DRIVE ASSEMBLY [85621]
SECONDARY TRANSMISSION ASSEMBLY [81236]
STARTER CLUTCH ASSEMBLY [55476]
STARTER MOTOR ASSEMBLY [59016]
STEERING POST ASSEMBLY [85588]
TAILLIGHT ASSEMBLY [88992]
THROTTLE CASE ASSEMBLY [89034]
TRANSMISSION ASSEMBLY [87338]
WHEEL AND TIRE ASSEMBLY [88998]
WIRING HARNESS ASSEMBLY [85607]
VIEW WISH LIST