Greenville, TX
|
Give Us a Call
(903) 454-4440
Toggle navigation
Home
Brands
Manufacturer Models
OEM Promotions
Polaris
Can-Am
E-Z-Go
Honda
Kawasaki
Suzuki
Inventory
All Inventory In Stock
New Inventory In Stock
Used Inventory
Value Your Trade-In
Request a Model
Schedule a Test Ride
Secure Financing
Parts
Parts Department
Parts Finder
Service
Service Department
Request Polaris Service
Warranty & Recall Look-Up
Specials
Financing
About
Our Dealership
Our Team
Reviews
Customer Survey
Employment
Events Calendar
Locations
Location & Hours
Contact
Parts Finder
Home
›
Parts
›
Parts Finder
Search by :
Part / Desc
VIN
Please Select
Arctic Cat
Honda
Kawasaki
Polaris
Suzuki
*Please enter at least 3 characters
SEARCH
Manufacturer
Arctic Cat
ATVs
2006
ATV 650 V-TWIN AUTOMATIC TRANSMISSION 4X4 FIS TONY STEWART EDITION CA [A2006IBR4BCAX]
VIEW WISH LIST
Select a Section
Show/Hide
AIR INTAKE ASSEMBLY [83846]
AUXILIARY BRAKE ASSEMBLY [83709]
BATTERY AND SOLENOID ASSEMBLY [83670]
CAMSHAFTS/TENSIONER ASSEMBLY [83020]
CARBURETOR [83848]
CASE/BELT COOLING ASSEMBLY [83666]
CLUTCH COVER [83034]
COOLING ASSEMBLY [83011]
CRANKCASE ASSEMBLY [83035]
CRANKSHAFT ASSEMBLY [79200]
CYLINDER HEAD ASSEMBLY [83036]
CYLINDER/PISTON ASSEMBLY [79197]
DECALS [83700]
DRIVE CLUTCH [79203]
DRIVE TRAIN ASSEMBLY [83714]
DRIVEN CLUTCH [79204]
ENGINE AND EXHAUST [83010]
ENGINE COVERS [83037]
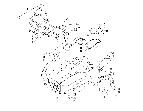
FRAME AND RELATED PARTS [83701]
FRONT BEVEL GEAR [79213]
FRONT BODY PANEL ASSEMBLY [83698]
FRONT DRIVE GEARCASE ASSEMBLY [83667]
FRONT SUSPENSION ASSEMBLY [83844]
GAS TANK ASSEMBLY [83007]
GEAR SHIFTING ASSEMBLY [79202]
HANDLEBAR ASSEMBLY [83849]
HYDRAULIC BRAKE ASSEMBLY [83611]
HYDRAULIC HAND BRAKE ASSEMBLY [90298]
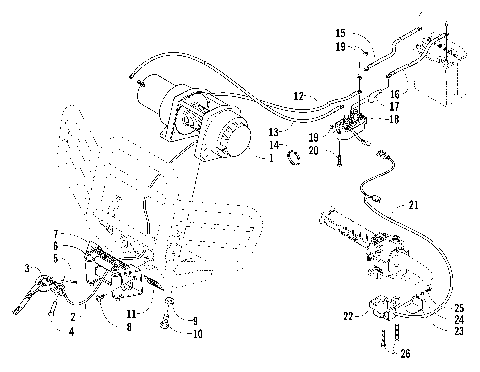
MAGNETO [83038]
OIL PUMP ASSEMBLY [83021]
REAR BODY PANEL ASSEMBLY [83842]
REAR DRIVE GEARCASE ASSEMBLY [83668]
REAR SUSPENSION ASSEMBLY [83845]
RECOIL STARTER [79212]
REVERSE SHIFT LEVER ASSEMBLY [83008]
SEAT ASSEMBLY [90621]
STARTER MOTOR [83022]
STEERING POST ASSEMBLY [85588]
TAILLIGHT ASSEMBLY [88992]
THROTTLE CASE AND CONTROL SWITCH ASSEMBLIES [83006]
TRANSMISSION ASSEMBLY [83039]
VALVE ASSEMBLY [83019]
WATER PUMP/THERMOSTAT ASSEMBLY [79211]
WHEEL AND TIRE ASSEMBLY [83711]
WINCH ASSEMBLY [83702]
WIRING HARNESS ASSEMBLY [83669]
AIR INTAKE ASSEMBLY [83846]
AUXILIARY BRAKE ASSEMBLY [83709]
BATTERY AND SOLENOID ASSEMBLY [83670]
CAMSHAFTS/TENSIONER ASSEMBLY [83020]
CARBURETOR [83848]
CASE/BELT COOLING ASSEMBLY [83666]
CLUTCH COVER [83034]
COOLING ASSEMBLY [83011]
CRANKCASE ASSEMBLY [83035]
CRANKSHAFT ASSEMBLY [79200]
CYLINDER HEAD ASSEMBLY [83036]
CYLINDER/PISTON ASSEMBLY [79197]
DECALS [83700]
DRIVE CLUTCH [79203]
DRIVE TRAIN ASSEMBLY [83714]
DRIVEN CLUTCH [79204]
ENGINE AND EXHAUST [83010]
ENGINE COVERS [83037]
FRAME AND RELATED PARTS [83701]
FRONT BEVEL GEAR [79213]
FRONT BODY PANEL ASSEMBLY [83698]
FRONT DRIVE GEARCASE ASSEMBLY [83667]
FRONT SUSPENSION ASSEMBLY [83844]
GAS TANK ASSEMBLY [83007]
GEAR SHIFTING ASSEMBLY [79202]
HANDLEBAR ASSEMBLY [83849]
HYDRAULIC BRAKE ASSEMBLY [83611]
HYDRAULIC HAND BRAKE ASSEMBLY [90298]
MAGNETO [83038]
OIL PUMP ASSEMBLY [83021]
REAR BODY PANEL ASSEMBLY [83842]
REAR DRIVE GEARCASE ASSEMBLY [83668]
REAR SUSPENSION ASSEMBLY [83845]
RECOIL STARTER [79212]
REVERSE SHIFT LEVER ASSEMBLY [83008]
SEAT ASSEMBLY [90621]
STARTER MOTOR [83022]
STEERING POST ASSEMBLY [85588]
TAILLIGHT ASSEMBLY [88992]
THROTTLE CASE AND CONTROL SWITCH ASSEMBLIES [83006]
TRANSMISSION ASSEMBLY [83039]
VALVE ASSEMBLY [83019]
WATER PUMP/THERMOSTAT ASSEMBLY [79211]
WHEEL AND TIRE ASSEMBLY [83711]
WINCH ASSEMBLY [83702]
WIRING HARNESS ASSEMBLY [83669]
VIEW WISH LIST