Greenville, TX
|
Give Us a Call
(903) 454-4440
Toggle navigation
Home
Brands
Manufacturer Models
OEM Promotions
Polaris
Can-Am
E-Z-Go
Honda
Kawasaki
Suzuki
Inventory
All Inventory In Stock
New Inventory In Stock
Used Inventory
Value Your Trade-In
Request a Model
Schedule a Test Ride
Secure Financing
Parts
Parts Department
Parts Finder
Service
Service Department
Request Polaris Service
Warranty & Recall Look-Up
Specials
Financing
About
Our Dealership
Our Team
Reviews
Customer Survey
Employment
Events Calendar
Locations
Location & Hours
Contact
Parts Finder
Home
›
Parts
›
Parts Finder
Search by :
Part / Desc
VIN
Please Select
Arctic Cat
Honda
Kawasaki
Polaris
Suzuki
*Please enter at least 3 characters
SEARCH
Manufacturer
Arctic Cat
ATVs
2006
ATV 50 UTILITY RED [A2006KUA2BUSR]
VIEW WISH LIST
Select a Section
Show/Hide
AIR INTAKE ASSEMBLY [85084]
BATTERY ASSEMBLY [84013]
BODY PANEL AND RACK ASSEMBLY [87257]
CARBURETOR ASSEMBLY [84045]
CLUTCH ASSEMBLIES [85089]
CRANKCASE ASSEMBLY [85088]
CRANKCASE COVER ASSEMBLY [85913]
CYLINDER HEAD ASSEMBLY [85087]
DECALS [85071]
ELECTRICAL AND WIRING HARNESS ASSEMBLY [85081]
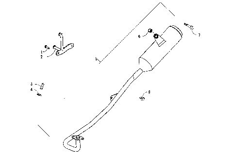
EXHAUST ASSEMBLY [85085]
FRAME AND RELATED PARTS ASSEMBLY [85072]
FRONT SUSPENSION ASSEMBLY [85079]
FRONT WHEEL AND BRAKE ASSEMBLIES [94394]
GAS TANK ASSEMBLY [85083]
HANDLEBAR AND CONTROL ASSEMBLY [85074]
HYDRAULIC HAND BRAKE ASSEMBLY [84007]
KICK STARTER ASSEMBLY [84005]
PISTON ASSEMBLY [87114]
REAR AXLE ASSEMBLY [85078]
REAR SUSPENSION ASSEMBLY [85080]
REAR WHEEL AND BRAKE ASSEMBLIES [94395]
SEAT AND TOOL KIT ASSEMBLY [87700]
STARTER MOTOR AND OIL PUMP ASSEMBLIES [85091]
STATOR, FLYWHEEL, AND ENGINE SHROUD ASSEMBLIES [85092]
STEERING POST ASSEMBLY [84008]
TAILLIGHT ASSEMBLY [84016]
THROTTLE CONTROL ASSEMBLY [85075]
TRANSMISSION ASSEMBLY [85090]
AIR INTAKE ASSEMBLY [85084]
BATTERY ASSEMBLY [84013]
BODY PANEL AND RACK ASSEMBLY [87257]
CARBURETOR ASSEMBLY [84045]
CLUTCH ASSEMBLIES [85089]
CRANKCASE ASSEMBLY [85088]
CRANKCASE COVER ASSEMBLY [85913]
CYLINDER HEAD ASSEMBLY [85087]
DECALS [85071]
ELECTRICAL AND WIRING HARNESS ASSEMBLY [85081]
EXHAUST ASSEMBLY [85085]
FRAME AND RELATED PARTS ASSEMBLY [85072]
FRONT SUSPENSION ASSEMBLY [85079]
FRONT WHEEL AND BRAKE ASSEMBLIES [94394]
GAS TANK ASSEMBLY [85083]
HANDLEBAR AND CONTROL ASSEMBLY [85074]
HYDRAULIC HAND BRAKE ASSEMBLY [84007]
KICK STARTER ASSEMBLY [84005]
PISTON ASSEMBLY [87114]
REAR AXLE ASSEMBLY [85078]
REAR SUSPENSION ASSEMBLY [85080]
REAR WHEEL AND BRAKE ASSEMBLIES [94395]
SEAT AND TOOL KIT ASSEMBLY [87700]
STARTER MOTOR AND OIL PUMP ASSEMBLIES [85091]
STATOR, FLYWHEEL, AND ENGINE SHROUD ASSEMBLIES [85092]
STEERING POST ASSEMBLY [84008]
TAILLIGHT ASSEMBLY [84016]
THROTTLE CONTROL ASSEMBLY [85075]
TRANSMISSION ASSEMBLY [85090]
VIEW WISH LIST