Greenville, TX
|
Give Us a Call
(903) 454-4440
Toggle navigation
Home
Brands
Manufacturer Models
OEM Promotions
Polaris
Can-Am
E-Z-Go
Honda
Kawasaki
Suzuki
Inventory
All Inventory In Stock
New Inventory In Stock
Used Inventory
Value Your Trade-In
Request a Model
Schedule a Test Ride
Secure Financing
Parts
Parts Department
Parts Finder
Service
Service Department
Request Polaris Service
Warranty & Recall Look-Up
Specials
Financing
About
Our Dealership
Our Team
Reviews
Customer Survey
Employment
Events Calendar
Locations
Location & Hours
Contact
Parts Finder
Home
›
Parts
›
Parts Finder
Search by :
Part / Desc
VIN
Please Select
Arctic Cat
Honda
Kawasaki
Polaris
Suzuki
*Please enter at least 3 characters
SEARCH
Manufacturer
Arctic Cat
ATVs
2006
ATV 400 AUTOMATIC TRANSMISSION 4X4 VP GREEN [A2006ABH4BUSG]
VIEW WISH LIST
Select a Section
Show/Hide
AIR INTAKE ASSEMBLY [83753]
AUXILIARY BRAKE ASSEMBLY [83748]
BATTERY ASSEMBLY [83547]
CAM CHAIN ASSEMBLY [85684]
CAMSHAFT/VALVE ASSEMBLY [83763]
CARBURETOR [83762]
CASE/BELT COOLING ASSEMBLY [83755]
CLUTCH/V-BELT/MAGNETO COVER ASSEMBLY [87336]
CONTROL SWITCH HOUSING ASSEMBLY [89209]
CRANK BALANCER ASSEMBLY [83621]
CRANKCASE ASSEMBLY [81231]
CRANKSHAFT ASSEMBLY [83764]
CYLINDER ASSEMBLY [59007]
CYLINDER HEAD ASSEMBLY [83765]
DECALS [83826]
ENGINE AND EXHAUST [83754]
FRAME AND RELATED PARTS [83745]
FRONT BODY PANEL ASSEMBLY [83823]
FRONT DRIVE GEARCASE ASSEMBLY [83756]
FRONT SUSPENSION ASSEMBLY [83766]
GAS TANK ASSEMBLY [83751]
GEAR SHIFTING ASSEMBLY [83624]
HANDLEBAR ASSEMBLY [83824]
HYDRAULIC BRAKE ASSEMBLY [83750]
HYDRAULIC HAND BRAKE ASSEMBLY [90298]
MAGNETO ASSEMBLY [87341]
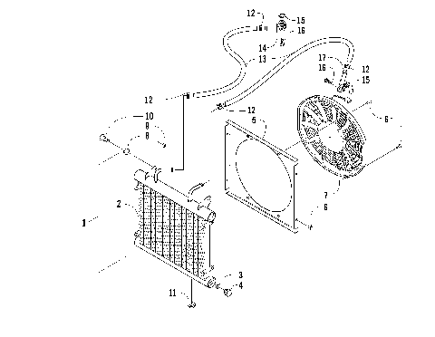
OIL COOLER ASSEMBLY [83071]
OIL FILTER/PUMP ASSEMBLY [87499]
REAR AXLE ASSEMBLY [83758]
REAR BODY PANEL ASSEMBLY [83822]
REAR DRIVE GEARCASE ASSEMBLY [83757]
REAR SUSPENSION ASSEMBLY [83767]
RECOIL STARTER ASSEMBLY [59004]
REVERSE SHIFT LEVER ASSEMBLY [83752]
SEAT ASSEMBLY [90621]
SECONDARY DRIVE ASSEMBLY [83759]
SECONDARY TRANSMISSION ASSEMBLY [83247]
STARTER CLUTCH ASSEMBLY [55476]
STARTER MOTOR ASSEMBLY [59016]
STEERING POST ASSEMBLY [85588]
TAILLIGHT ASSEMBLY [88992]
THROTTLE CASE ASSEMBLY [77833]
TRANSMISSION ASSEMBLY [81264]
WHEEL AND TIRE ASSEMBLY [83747]
WIRING HARNESS ASSEMBLY [83768]
AIR INTAKE ASSEMBLY [83753]
AUXILIARY BRAKE ASSEMBLY [83748]
BATTERY ASSEMBLY [83547]
CAM CHAIN ASSEMBLY [85684]
CAMSHAFT/VALVE ASSEMBLY [83763]
CARBURETOR [83762]
CASE/BELT COOLING ASSEMBLY [83755]
CLUTCH/V-BELT/MAGNETO COVER ASSEMBLY [87336]
CONTROL SWITCH HOUSING ASSEMBLY [89209]
CRANK BALANCER ASSEMBLY [83621]
CRANKCASE ASSEMBLY [81231]
CRANKSHAFT ASSEMBLY [83764]
CYLINDER ASSEMBLY [59007]
CYLINDER HEAD ASSEMBLY [83765]
DECALS [83826]
ENGINE AND EXHAUST [83754]
FRAME AND RELATED PARTS [83745]
FRONT BODY PANEL ASSEMBLY [83823]
FRONT DRIVE GEARCASE ASSEMBLY [83756]
FRONT SUSPENSION ASSEMBLY [83766]
GAS TANK ASSEMBLY [83751]
GEAR SHIFTING ASSEMBLY [83624]
HANDLEBAR ASSEMBLY [83824]
HYDRAULIC BRAKE ASSEMBLY [83750]
HYDRAULIC HAND BRAKE ASSEMBLY [90298]
MAGNETO ASSEMBLY [87341]
OIL COOLER ASSEMBLY [83071]
OIL FILTER/PUMP ASSEMBLY [87499]
REAR AXLE ASSEMBLY [83758]
REAR BODY PANEL ASSEMBLY [83822]
REAR DRIVE GEARCASE ASSEMBLY [83757]
REAR SUSPENSION ASSEMBLY [83767]
RECOIL STARTER ASSEMBLY [59004]
REVERSE SHIFT LEVER ASSEMBLY [83752]
SEAT ASSEMBLY [90621]
SECONDARY DRIVE ASSEMBLY [83759]
SECONDARY TRANSMISSION ASSEMBLY [83247]
STARTER CLUTCH ASSEMBLY [55476]
STARTER MOTOR ASSEMBLY [59016]
STEERING POST ASSEMBLY [85588]
TAILLIGHT ASSEMBLY [88992]
THROTTLE CASE ASSEMBLY [77833]
TRANSMISSION ASSEMBLY [81264]
WHEEL AND TIRE ASSEMBLY [83747]
WIRING HARNESS ASSEMBLY [83768]
VIEW WISH LIST