Greenville, TX
|
Give Us a Call
(903) 454-4440
Toggle navigation
Home
Brands
Manufacturer Models
OEM Promotions
Polaris
Can-Am
E-Z-Go
Honda
Kawasaki
Suzuki
Inventory
All Inventory In Stock
New Inventory In Stock
Used Inventory
Value Your Trade-In
Request a Model
Schedule a Test Ride
Secure Financing
Parts
Parts Department
Parts Finder
Service
Service Department
Request Polaris Service
Warranty & Recall Look-Up
Specials
Financing
About
Our Dealership
Our Team
Reviews
Customer Survey
Employment
Events Calendar
Locations
Location & Hours
Contact
Parts Finder
Home
›
Parts
›
Parts Finder
Search by :
Part / Desc
VIN
Please Select
Arctic Cat
Honda
Kawasaki
Polaris
Suzuki
*Please enter at least 3 characters
SEARCH
Manufacturer
Arctic Cat
ATVs
2006
ATV 400 AUTOMATIC TRANSMISSION 4X4 TBX GREEN [A2006BBH4BUSG]
VIEW WISH LIST
Select a Section
Show/Hide
AIR INTAKE ASSEMBLY [83953]
AUXILIARY BRAKE ASSEMBLY [83954]
BATTERY ASSEMBLY [83547]
CAM CHAIN ASSEMBLY [85684]
CAMSHAFT/VALVE ASSEMBLY [83763]
CARBURETOR [85232]
CARGO BOX ASSEMBLY [83955]
CASE/BELT COOLING ASSEMBLY [83946]
CLUTCH/V-BELT/MAGNETO COVER ASSEMBLY [87336]
CONTROL SWITCH HOUSING ASSEMBLY [89209]
CRANK BALANCER ASSEMBLY [83621]
CRANKCASE ASSEMBLY [81231]
CRANKSHAFT ASSEMBLY [83764]
CYLINDER ASSEMBLY [59007]
CYLINDER HEAD ASSEMBLY [87334]
DECALS [84049]
ENGINE AND EXHAUST [83945]
FRAME AND RELATED PARTS [83943]
FRONT BODY PANEL ASSEMBLY [84052]
FRONT DRIVE GEARCASE ASSEMBLY [83947]
FRONT SUSPENSION ASSEMBLY [83972]
GAS TANK ASSEMBLY [82987]
GEAR SHIFTING ASSEMBLY [83624]
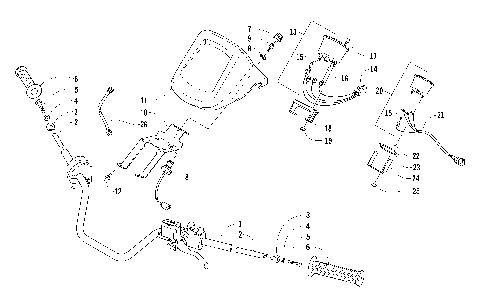
HANDLEBAR ASSEMBLY [84050]
HYDRAULIC BRAKE ASSEMBLY [83958]
HYDRAULIC HAND BRAKE ASSEMBLY [90298]
MAGNETO ASSEMBLY [87341]
OIL COOLER ASSEMBLY [300828]
OIL FILTER/PUMP ASSEMBLY [87499]
REAR DRIVE GEARCASE ASSEMBLY [83948]
REAR SUSPENSION ASSEMBLY [83973]
RECOIL STARTER ASSEMBLY [59004]
REVERSE SHIFT LEVER ASSEMBLY [83960]
SEAT ASSEMBLY [90621]
SECONDARY DRIVE ASSEMBLY [83623]
SECONDARY TRANSMISSION ASSEMBLY [81236]
STARTER CLUTCH ASSEMBLY [55476]
STARTER MOTOR ASSEMBLY [59016]
STEERING POST ASSEMBLY [85588]
STORAGE BOX ASSEMBLY [83941]
TAILLIGHT ASSEMBLY [82984]
THROTTLE CASE ASSEMBLY [89034]
TILT FRAME ASSEMBLY [83961]
TRANSMISSION ASSEMBLY [81264]
WHEEL AND TIRE ASSEMBLY [84051]
WIRING HARNESS ASSEMBLY [83949]
AIR INTAKE ASSEMBLY [83953]
AUXILIARY BRAKE ASSEMBLY [83954]
BATTERY ASSEMBLY [83547]
CAM CHAIN ASSEMBLY [85684]
CAMSHAFT/VALVE ASSEMBLY [83763]
CARBURETOR [85232]
CARGO BOX ASSEMBLY [83955]
CASE/BELT COOLING ASSEMBLY [83946]
CLUTCH/V-BELT/MAGNETO COVER ASSEMBLY [87336]
CONTROL SWITCH HOUSING ASSEMBLY [89209]
CRANK BALANCER ASSEMBLY [83621]
CRANKCASE ASSEMBLY [81231]
CRANKSHAFT ASSEMBLY [83764]
CYLINDER ASSEMBLY [59007]
CYLINDER HEAD ASSEMBLY [87334]
DECALS [84049]
ENGINE AND EXHAUST [83945]
FRAME AND RELATED PARTS [83943]
FRONT BODY PANEL ASSEMBLY [84052]
FRONT DRIVE GEARCASE ASSEMBLY [83947]
FRONT SUSPENSION ASSEMBLY [83972]
GAS TANK ASSEMBLY [82987]
GEAR SHIFTING ASSEMBLY [83624]
HANDLEBAR ASSEMBLY [84050]
HYDRAULIC BRAKE ASSEMBLY [83958]
HYDRAULIC HAND BRAKE ASSEMBLY [90298]
MAGNETO ASSEMBLY [87341]
OIL COOLER ASSEMBLY [300828]
OIL FILTER/PUMP ASSEMBLY [87499]
REAR DRIVE GEARCASE ASSEMBLY [83948]
REAR SUSPENSION ASSEMBLY [83973]
RECOIL STARTER ASSEMBLY [59004]
REVERSE SHIFT LEVER ASSEMBLY [83960]
SEAT ASSEMBLY [90621]
SECONDARY DRIVE ASSEMBLY [83623]
SECONDARY TRANSMISSION ASSEMBLY [81236]
STARTER CLUTCH ASSEMBLY [55476]
STARTER MOTOR ASSEMBLY [59016]
STEERING POST ASSEMBLY [85588]
STORAGE BOX ASSEMBLY [83941]
TAILLIGHT ASSEMBLY [82984]
THROTTLE CASE ASSEMBLY [89034]
TILT FRAME ASSEMBLY [83961]
TRANSMISSION ASSEMBLY [81264]
WHEEL AND TIRE ASSEMBLY [84051]
WIRING HARNESS ASSEMBLY [83949]
VIEW WISH LIST