Greenville, TX
|
Give Us a Call
(903) 454-4440
Toggle navigation
Home
Brands
Manufacturer Models
OEM Promotions
Polaris
Can-Am
E-Z-Go
Honda
Kawasaki
Suzuki
Inventory
All Inventory In Stock
New Inventory In Stock
Used Inventory
Value Your Trade-In
Request a Model
Schedule a Test Ride
Secure Financing
Parts
Parts Department
Parts Finder
Service
Service Department
Request Polaris Service
Warranty & Recall Look-Up
Specials
Financing
About
Our Dealership
Our Team
Reviews
Customer Survey
Employment
Events Calendar
Locations
Location & Hours
Contact
Parts Finder
Home
›
Parts
›
Parts Finder
Search by :
Part / Desc
VIN
Please Select
Arctic Cat
Honda
Kawasaki
Polaris
Suzuki
*Please enter at least 3 characters
SEARCH
Manufacturer
Arctic Cat
ATVs
2006
ATV 400 AUTOMATIC TRANSMISSION 4X4 FIS CAT GREEN LE [A2006ICH4BUSA]
VIEW WISH LIST
Select a Section
Show/Hide
AIR INTAKE ASSEMBLY [83613]
AUXILIARY BRAKE ASSEMBLY [83709]
BATTERY ASSEMBLY [83547]
CAM CHAIN ASSEMBLY [85684]
CAMSHAFT/VALVE ASSEMBLY [83763]
CARBURETOR [85232]
CASE/BELT COOLING ASSEMBLY [83616]
CLUTCH/V-BELT/MAGNETO COVER ASSEMBLY [87336]
CONTROL SWITCH HOUSING ASSEMBLY [89209]
CRANK BALANCER ASSEMBLY [83621]
CRANKCASE ASSEMBLY [81231]
CRANKSHAFT ASSEMBLY [83764]
CYLINDER ASSEMBLY [59007]
CYLINDER HEAD ASSEMBLY [87334]
DECALS [83643]
DRIVE TRAIN ASSEMBLY [83617]
ENGINE AND EXHAUST [85778]
FRAME AND RELATED PARTS [83809]
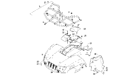
FRONT BODY PANEL ASSEMBLY [83641]
FRONT DRIVE GEARCASE ASSEMBLY [83618]
FRONT SUSPENSION ASSEMBLY [83798]
GAS TANK ASSEMBLY [83545]
GEAR SHIFTING ASSEMBLY [83624]
HANDLEBAR ASSEMBLY [84483]
HYDRAULIC BRAKE ASSEMBLY [83611]
HYDRAULIC HAND BRAKE ASSEMBLY [90298]
MAGNETO ASSEMBLY [87341]
OIL COOLER ASSEMBLY [300828]
OIL FILTER/PUMP ASSEMBLY [87499]
REAR BODY PANEL ASSEMBLY [83794]
REAR DRIVE GEARCASE ASSEMBLY [81185]
REAR SUSPENSION ASSEMBLY [83799]
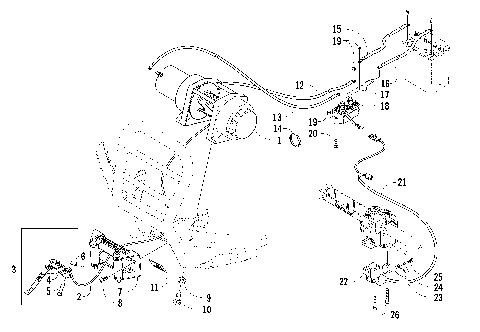
RECOIL STARTER ASSEMBLY [59004]
REVERSE SHIFT LEVER ASSEMBLY [83752]
SEAT ASSEMBLY [90621]
SECONDARY DRIVE ASSEMBLY [83623]
SECONDARY TRANSMISSION ASSEMBLY [81236]
STARTER CLUTCH ASSEMBLY [55476]
STARTER MOTOR ASSEMBLY [59016]
STEERING POST ASSEMBLY [85588]
TAILLIGHT ASSEMBLY [88992]
THROTTLE CASE ASSEMBLY [89034]
TRANSMISSION ASSEMBLY [81264]
WHEEL AND TIRE ASSEMBLY [83648]
WINCH ASSEMBLY [85881]
WIRING HARNESS ASSEMBLY [83619]
AIR INTAKE ASSEMBLY [83613]
AUXILIARY BRAKE ASSEMBLY [83709]
BATTERY ASSEMBLY [83547]
CAM CHAIN ASSEMBLY [85684]
CAMSHAFT/VALVE ASSEMBLY [83763]
CARBURETOR [85232]
CASE/BELT COOLING ASSEMBLY [83616]
CLUTCH/V-BELT/MAGNETO COVER ASSEMBLY [87336]
CONTROL SWITCH HOUSING ASSEMBLY [89209]
CRANK BALANCER ASSEMBLY [83621]
CRANKCASE ASSEMBLY [81231]
CRANKSHAFT ASSEMBLY [83764]
CYLINDER ASSEMBLY [59007]
CYLINDER HEAD ASSEMBLY [87334]
DECALS [83643]
DRIVE TRAIN ASSEMBLY [83617]
ENGINE AND EXHAUST [85778]
FRAME AND RELATED PARTS [83809]
FRONT BODY PANEL ASSEMBLY [83641]
FRONT DRIVE GEARCASE ASSEMBLY [83618]
FRONT SUSPENSION ASSEMBLY [83798]
GAS TANK ASSEMBLY [83545]
GEAR SHIFTING ASSEMBLY [83624]
HANDLEBAR ASSEMBLY [84483]
HYDRAULIC BRAKE ASSEMBLY [83611]
HYDRAULIC HAND BRAKE ASSEMBLY [90298]
MAGNETO ASSEMBLY [87341]
OIL COOLER ASSEMBLY [300828]
OIL FILTER/PUMP ASSEMBLY [87499]
REAR BODY PANEL ASSEMBLY [83794]
REAR DRIVE GEARCASE ASSEMBLY [81185]
REAR SUSPENSION ASSEMBLY [83799]
RECOIL STARTER ASSEMBLY [59004]
REVERSE SHIFT LEVER ASSEMBLY [83752]
SEAT ASSEMBLY [90621]
SECONDARY DRIVE ASSEMBLY [83623]
SECONDARY TRANSMISSION ASSEMBLY [81236]
STARTER CLUTCH ASSEMBLY [55476]
STARTER MOTOR ASSEMBLY [59016]
STEERING POST ASSEMBLY [85588]
TAILLIGHT ASSEMBLY [88992]
THROTTLE CASE ASSEMBLY [89034]
TRANSMISSION ASSEMBLY [81264]
WHEEL AND TIRE ASSEMBLY [83648]
WINCH ASSEMBLY [85881]
WIRING HARNESS ASSEMBLY [83619]
VIEW WISH LIST