Greenville, TX
|
Give Us a Call
(903) 454-4440
Toggle navigation
Home
Brands
Manufacturer Models
OEM Promotions
Polaris
Can-Am
E-Z-Go
Honda
Kawasaki
Suzuki
Inventory
All Inventory In Stock
New Inventory In Stock
Used Inventory
Value Your Trade-In
Request a Model
Schedule a Test Ride
Secure Financing
Parts
Parts Department
Parts Finder
Service
Service Department
Request Polaris Service
Warranty & Recall Look-Up
Specials
Financing
About
Our Dealership
Our Team
Reviews
Customer Survey
Employment
Events Calendar
Locations
Location & Hours
Contact
Parts Finder
Home
›
Parts
›
Parts Finder
Search by :
Part / Desc
VIN
Please Select
Arctic Cat
Honda
Kawasaki
Polaris
Suzuki
*Please enter at least 3 characters
SEARCH
Manufacturer
Arctic Cat
ATVs
2005
ATV 90 Y-12 YOUTH RED [A2005H4B2BUSR]
VIEW WISH LIST
Select a Section
Show/Hide
A-ARM, FLOOR PANEL, AND BUMPER ASSEMBLY [81113]
AIR CLEANER ASSEMBLY [80999]
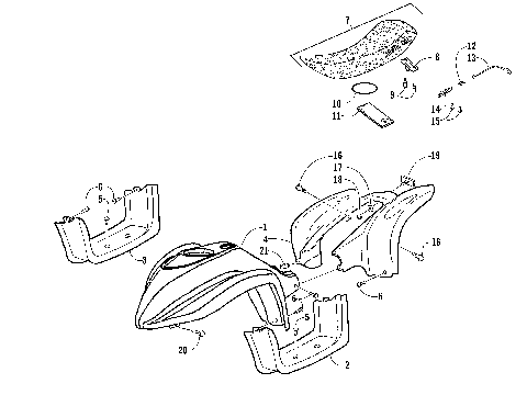
BODY AND SEAT ASSEMBLY [81004]
BRAKELIGHT AND FLAG ASSEMBLIES [78541]
CAM CHAIN AND TENSIONER ASSEMBLY [80986]
CAMSHAFT/VALVE ASSEMBLY [80985]
CARBURETOR ASSEMBLY [81111]
CRANKCASE ASSEMBLY [80996]
CRANKSHAFT ASSEMBLY [80988]
CYLINDER ASSEMBLY [80987]
CYLINDER HEAD ASSEMBLY [80984]
CYLINDER HEAD COVER ASSEMBLY [80983]
DECALS [81114]
DRIVE CLUTCH ASSEMBLY [80993]
DRIVEN CLUTCH ASSEMBLY [80994]
ELECTRICAL [81007]
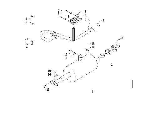
EXHAUST ASSEMBLY [81001]
FAN SHROUD ASSEMBLY [80990]
FRAME ASSEMBLY [81112]
FRONT BRAKE ASSEMBLY [55763]
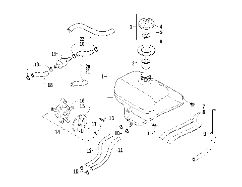
GAS TANK ASSEMBLY [81005]
HANDLEBAR ASSEMBLY [81013]
LEFT CRANKCASE COVER ASSEMBLY [80997]
MAGNETO [80989]
OIL PUMP ASSEMBLY [80992]
REAR BRAKE ASSEMBLY [82954]
REAR DRIVE ASSEMBLY [81015]
RIGHT CRANKCASE COVER ASSEMBLY [80998]
STARTER MOTOR ASSEMBLY [80991]
STEERING ASSEMBLY [81006]
TRANSMISSION ASSEMBLY [80995]
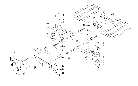
WHEEL, TIRE, AND SUSPENSION ASSEMBLY [55762]
A-ARM, FLOOR PANEL, AND BUMPER ASSEMBLY [81113]
AIR CLEANER ASSEMBLY [80999]
BODY AND SEAT ASSEMBLY [81004]
BRAKELIGHT AND FLAG ASSEMBLIES [78541]
CAM CHAIN AND TENSIONER ASSEMBLY [80986]
CAMSHAFT/VALVE ASSEMBLY [80985]
CARBURETOR ASSEMBLY [81111]
CRANKCASE ASSEMBLY [80996]
CRANKSHAFT ASSEMBLY [80988]
CYLINDER ASSEMBLY [80987]
CYLINDER HEAD ASSEMBLY [80984]
CYLINDER HEAD COVER ASSEMBLY [80983]
DECALS [81114]
DRIVE CLUTCH ASSEMBLY [80993]
DRIVEN CLUTCH ASSEMBLY [80994]
ELECTRICAL [81007]
EXHAUST ASSEMBLY [81001]
FAN SHROUD ASSEMBLY [80990]
FRAME ASSEMBLY [81112]
FRONT BRAKE ASSEMBLY [55763]
GAS TANK ASSEMBLY [81005]
HANDLEBAR ASSEMBLY [81013]
LEFT CRANKCASE COVER ASSEMBLY [80997]
MAGNETO [80989]
OIL PUMP ASSEMBLY [80992]
REAR BRAKE ASSEMBLY [82954]
REAR DRIVE ASSEMBLY [81015]
RIGHT CRANKCASE COVER ASSEMBLY [80998]
STARTER MOTOR ASSEMBLY [80991]
STEERING ASSEMBLY [81006]
TRANSMISSION ASSEMBLY [80995]
WHEEL, TIRE, AND SUSPENSION ASSEMBLY [55762]
VIEW WISH LIST