Greenville, TX
|
Give Us a Call
(903) 454-4440
Toggle navigation
Home
Brands
Manufacturer Models
OEM Promotions
Polaris
Can-Am
E-Z-Go
Honda
Kawasaki
Suzuki
Inventory
All Inventory In Stock
New Inventory In Stock
Used Inventory
Value Your Trade-In
Request a Model
Schedule a Test Ride
Secure Financing
Parts
Parts Department
Parts Finder
Service
Service Department
Request Polaris Service
Warranty & Recall Look-Up
Specials
Financing
About
Our Dealership
Our Team
Reviews
Customer Survey
Employment
Events Calendar
Locations
Location & Hours
Contact
Parts Finder
Home
›
Parts
›
Parts Finder
Search by :
Part / Desc
VIN
Please Select
Arctic Cat
Honda
Kawasaki
Polaris
Suzuki
*Please enter at least 3 characters
SEARCH
Manufacturer
Arctic Cat
ATVs
2005
ATV 500 AUTOMATIC TRANSMISSION 4X4 TRV GREEN [A2005TDM4BUSG]
VIEW WISH LIST
Select a Section
Show/Hide
AIR INTAKE ASSEMBLY [81281]
AUXILIARY BRAKE ASSEMBLY [81273]
CAM CHAIN ASSEMBLY [81055]
CAMSHAFT/VALVE ASSEMBLY [89198]
CARBURETOR [81285]
CASE/BELT COOLING ASSEMBLY [78637]
CLUTCH/V-BELT/MAGNETO COVER ASSEMBLY [60203]
CONTROL SWITCH HOUSING ASSEMBLY [89209]
COOLING ASSEMBLY [81276]
CRANK BALANCER ASSEMBLY [78609]
CRANKCASE ASSEMBLY [89193]
CRANKSHAFT ASSEMBLY [89195]
CYLINDER ASSEMBLY [89192]
CYLINDER HEAD ASSEMBLY [60201]
DECALS [81299]
ENGINE AND EXHAUST [81275]
FRAME AND RELATED PARTS [81302]
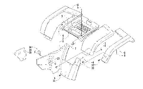
FRONT BODY PANEL ASSEMBLY [81298]
FRONT DRIVE GEARCASE ASSEMBLY [78606]
FRONT SUSPENSION ASSEMBLY [81290]
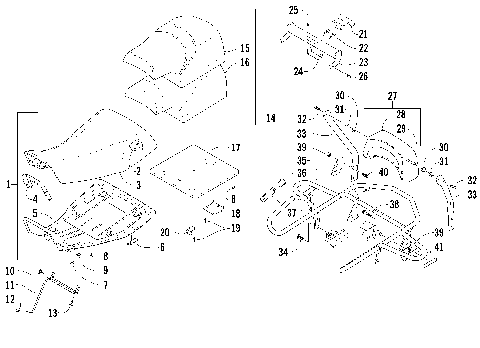
GAS TANK ASSEMBLY [60142]
GEAR SHIFTING ASSEMBLY [60210]
HANDLEBAR ASSEMBLY [81303]
HYDRAULIC BRAKE ASSEMBLY [82998]
HYDRAULIC HAND BRAKE ASSEMBLY [81126]
MAGNETO ASSEMBLY [89208]
OIL FILTER/PUMP ASSEMBLY [60167]
REAR BODY PANEL ASSEMBLY [81306]
REAR DRIVE GEARCASE ASSEMBLY [83271]
REAR SUSPENSION ASSEMBLY [81292]
RECOIL STARTER ASSEMBLY [89200]
REVERSE SHIFT LEVER ASSEMBLY [81283]
SEAT ASSEMBLY [81284]
SECONDARY DRIVE ASSEMBLY [78641]
SECONDARY TRANSMISSION ASSEMBLY [78592]
STARTER CLUTCH ASSEMBLY [78608]
STARTER MOTOR ASSEMBLY [89207]
STEERING POST ASSEMBLY [81204]
STORAGE BOX AND BATTERY ASSEMBLY [78709]
TAILLIGHT ASSEMBLY [77796]
THROTTLE CASE ASSEMBLY [89034]
TRANSMISSION ASSEMBLY [60169]
WATER PUMP ASSEMBLY [89202]
WHEEL AND TIRE ASSEMBLY [81289]
WIRING HARNESS ASSEMBLY [81277]
AIR INTAKE ASSEMBLY [81281]
AUXILIARY BRAKE ASSEMBLY [81273]
CAM CHAIN ASSEMBLY [81055]
CAMSHAFT/VALVE ASSEMBLY [89198]
CARBURETOR [81285]
CASE/BELT COOLING ASSEMBLY [78637]
CLUTCH/V-BELT/MAGNETO COVER ASSEMBLY [60203]
CONTROL SWITCH HOUSING ASSEMBLY [89209]
COOLING ASSEMBLY [81276]
CRANK BALANCER ASSEMBLY [78609]
CRANKCASE ASSEMBLY [89193]
CRANKSHAFT ASSEMBLY [89195]
CYLINDER ASSEMBLY [89192]
CYLINDER HEAD ASSEMBLY [60201]
DECALS [81299]
ENGINE AND EXHAUST [81275]
FRAME AND RELATED PARTS [81302]
FRONT BODY PANEL ASSEMBLY [81298]
FRONT DRIVE GEARCASE ASSEMBLY [78606]
FRONT SUSPENSION ASSEMBLY [81290]
GAS TANK ASSEMBLY [60142]
GEAR SHIFTING ASSEMBLY [60210]
HANDLEBAR ASSEMBLY [81303]
HYDRAULIC BRAKE ASSEMBLY [82998]
HYDRAULIC HAND BRAKE ASSEMBLY [81126]
MAGNETO ASSEMBLY [89208]
OIL FILTER/PUMP ASSEMBLY [60167]
REAR BODY PANEL ASSEMBLY [81306]
REAR DRIVE GEARCASE ASSEMBLY [83271]
REAR SUSPENSION ASSEMBLY [81292]
RECOIL STARTER ASSEMBLY [89200]
REVERSE SHIFT LEVER ASSEMBLY [81283]
SEAT ASSEMBLY [81284]
SECONDARY DRIVE ASSEMBLY [78641]
SECONDARY TRANSMISSION ASSEMBLY [78592]
STARTER CLUTCH ASSEMBLY [78608]
STARTER MOTOR ASSEMBLY [89207]
STEERING POST ASSEMBLY [81204]
STORAGE BOX AND BATTERY ASSEMBLY [78709]
TAILLIGHT ASSEMBLY [77796]
THROTTLE CASE ASSEMBLY [89034]
TRANSMISSION ASSEMBLY [60169]
WATER PUMP ASSEMBLY [89202]
WHEEL AND TIRE ASSEMBLY [81289]
WIRING HARNESS ASSEMBLY [81277]
VIEW WISH LIST