Greenville, TX
|
Give Us a Call
(903) 454-4440
Toggle navigation
Home
Brands
Manufacturer Models
OEM Promotions
Polaris
Can-Am
E-Z-Go
Honda
Kawasaki
Suzuki
Inventory
All Inventory In Stock
New Inventory In Stock
Used Inventory
Value Your Trade-In
Request a Model
Schedule a Test Ride
Secure Financing
Parts
Parts Department
Parts Finder
Service
Service Department
Request Polaris Service
Warranty & Recall Look-Up
Specials
Financing
About
Our Dealership
Our Team
Reviews
Customer Survey
Employment
Events Calendar
Locations
Location & Hours
Contact
Parts Finder
Home
›
Parts
›
Parts Finder
Search by :
Part / Desc
VIN
Please Select
Arctic Cat
Honda
Kawasaki
Polaris
Suzuki
*Please enter at least 3 characters
SEARCH
Manufacturer
Arctic Cat
ATVs
2005
ATV 400 MANUAL TRANSMISSION 4X4 VP RED [A2005ATH4AUSR]
VIEW WISH LIST
Select a Section
Show/Hide
AIR INTAKE ASSEMBLY [83068]
AUXILIARY BRAKE ASSEMBLY [59024]
BATTERY ASSEMBLY [83069]
BODY PANEL ASSEMBLY [83061]
CAM CHAIN ASSEMBLY [85684]
CAMSHAFT/VALVE ASSEMBLY [83763]
CARBURETOR [83762]
CLUTCH ASSEMBLY [81190]
CONTROL SWITCH HOUSING ASSEMBLY [89033]
CRANK BALANCER ASSEMBLY [81205]
CRANKCASE ASSEMBLY [83820]
CRANKCASE COVER ASSEMBLY [81206]
CRANKSHAFT ASSEMBLY [83739]
CYLINDER ASSEMBLY [59007]
CYLINDER HEAD ASSEMBLY [81199]
DECALS [83062]
ENGINE AND EXHAUST [83070]
FRAME AND RELATED PARTS [78271]
FRONT DRIVE GEARCASE ASSEMBLY [83072]
FRONT SUSPENSION ASSEMBLY [83065]
GAS TANK ASSEMBLY [60142]
GEAR SHIFTING ASSEMBLY [55505]
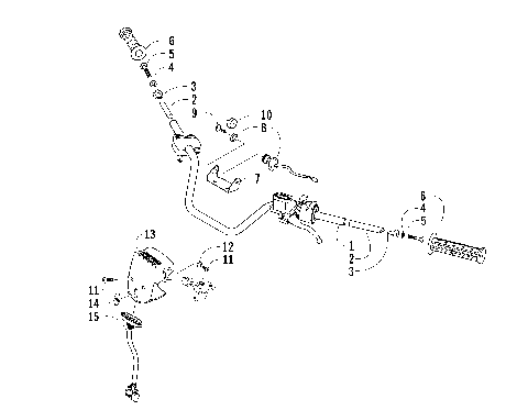
HANDLEBAR ASSEMBLY [83064]
HYDRAULIC BRAKE ASSEMBLY [83067]
HYDRAULIC HAND BRAKE ASSEMBLY [83066]
MAGNETO ASSEMBLY [87341]
OIL COOLER ASSEMBLY [83071]
OIL FILTER/PUMP ASSEMBLY [87499]
REAR AXLE ASSEMBLY [83074]
REAR DRIVE GEARCASE ASSEMBLY [83073]
REAR SUSPENSION ASSEMBLY [59030]
RECOIL STARTER ASSEMBLY [59004]
REVERSE SHIFT LEVER ASSEMBLY [81201]
SEAT ASSEMBLY [77980]
SECONDARY DRIVE ASSEMBLY [83077]
SECONDARY SHIFTING ASSEMBLY [55506]
SECONDARY TRANSMISSION ASSEMBLY [83821]
STARTER CLUTCH ASSEMBLY [55476]
STARTER MOTOR ASSEMBLY [59016]
STEERING POST ASSEMBLY [83080]
TAILLIGHT ASSEMBLY [77796]
THROTTLE CASE ASSEMBLY [77833]
TRANSMISSION ASSEMBLY [55552]
WHEEL AND TIRE ASSEMBLY [83081]
WIRING HARNESS ASSEMBLY [83075]
AIR INTAKE ASSEMBLY [83068]
AUXILIARY BRAKE ASSEMBLY [59024]
BATTERY ASSEMBLY [83069]
BODY PANEL ASSEMBLY [83061]
CAM CHAIN ASSEMBLY [85684]
CAMSHAFT/VALVE ASSEMBLY [83763]
CARBURETOR [83762]
CLUTCH ASSEMBLY [81190]
CONTROL SWITCH HOUSING ASSEMBLY [89033]
CRANK BALANCER ASSEMBLY [81205]
CRANKCASE ASSEMBLY [83820]
CRANKCASE COVER ASSEMBLY [81206]
CRANKSHAFT ASSEMBLY [83739]
CYLINDER ASSEMBLY [59007]
CYLINDER HEAD ASSEMBLY [81199]
DECALS [83062]
ENGINE AND EXHAUST [83070]
FRAME AND RELATED PARTS [78271]
FRONT DRIVE GEARCASE ASSEMBLY [83072]
FRONT SUSPENSION ASSEMBLY [83065]
GAS TANK ASSEMBLY [60142]
GEAR SHIFTING ASSEMBLY [55505]
HANDLEBAR ASSEMBLY [83064]
HYDRAULIC BRAKE ASSEMBLY [83067]
HYDRAULIC HAND BRAKE ASSEMBLY [83066]
MAGNETO ASSEMBLY [87341]
OIL COOLER ASSEMBLY [83071]
OIL FILTER/PUMP ASSEMBLY [87499]
REAR AXLE ASSEMBLY [83074]
REAR DRIVE GEARCASE ASSEMBLY [83073]
REAR SUSPENSION ASSEMBLY [59030]
RECOIL STARTER ASSEMBLY [59004]
REVERSE SHIFT LEVER ASSEMBLY [81201]
SEAT ASSEMBLY [77980]
SECONDARY DRIVE ASSEMBLY [83077]
SECONDARY SHIFTING ASSEMBLY [55506]
SECONDARY TRANSMISSION ASSEMBLY [83821]
STARTER CLUTCH ASSEMBLY [55476]
STARTER MOTOR ASSEMBLY [59016]
STEERING POST ASSEMBLY [83080]
TAILLIGHT ASSEMBLY [77796]
THROTTLE CASE ASSEMBLY [77833]
TRANSMISSION ASSEMBLY [55552]
WHEEL AND TIRE ASSEMBLY [83081]
WIRING HARNESS ASSEMBLY [83075]
VIEW WISH LIST